EasyManua.ls Logo

Bosch GCM12SD - Auxiliary Fence

Bosch GCM12SD
184 pages
Print Icon
To Next Page IconTo Next Page
To Next Page IconTo Next Page
To Previous Page IconTo Previous Page
To Previous Page IconTo Previous Page
Loading...
55
1
0-19/32"
3
-1/16"
7-15/32"
8"
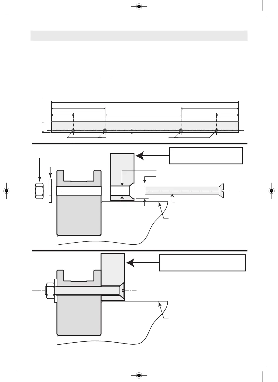
OVERALL LENGTH = 26-1/16"
3-1/16"
OVERALL HEIGHT = 1-1/2"
Drill 4 Holes = 5/16" Diameter
5/16"
New Auxiliary Fence
(assembled to Miter Saw)
Stationary
Fence
Saw Base
Top of Base
and Table
Note: The Stationary Fence is permanently
attached to the Saw Base (do not remove)
Stationary
Fence
5/16" Hole Through
1/2" Countersink
1/4" Flat Head Machine Screw x 2-1/2" Long
(need 4)
Flat Washer (need 4)
Nut (need 4)
Top of Base
and Table
Saw Base
New Auxiliary Fence
Board: 3/4" Wide x 1-1/2" High
Auxiliary Fence -
Using an Auxiliary Fence when cutting Crown molding flat on the table will reduce splintering of your workpiece
and movement of small cut-off pieces. Remove the saw’s sliding fences (see page 34) before attaching the auxiliary fence.
Build auxiliary fence by following pattern below - Material: 3/4" x 1-1/2" wood.
Add 4 holes as dimensioned on pattern -or- Add holes following the next steps:
1) Cut wood to the outside dimensions shown and temporarily attach to saw’s stationary fence using two C-clamps.
2) Use 1/4" drill bit to drill first through existing holes in the rear of the stationary fence and then through the wood.
3) Remove wood, countersink the front of the wood and permanently attach to saw’s fence with hardware shown below.
Saw Operations
Crown Molding Auxiliary Fence
2610051827 GCM12SD 08-18.qxp_GCM12SD 9/19/18 2:52 PM Page 55

Table of Contents

Other manuals for Bosch GCM12SD

Related product manuals