EasyManua.ls Logo

Brother MFC-J6935DW - Page 210

Brother MFC-J6935DW
402 pages
Print Icon
To Next Page IconTo Next Page
To Next Page IconTo Next Page
To Previous Page IconTo Previous Page
To Previous Page IconTo Previous Page
Loading...
3-78
Confidential
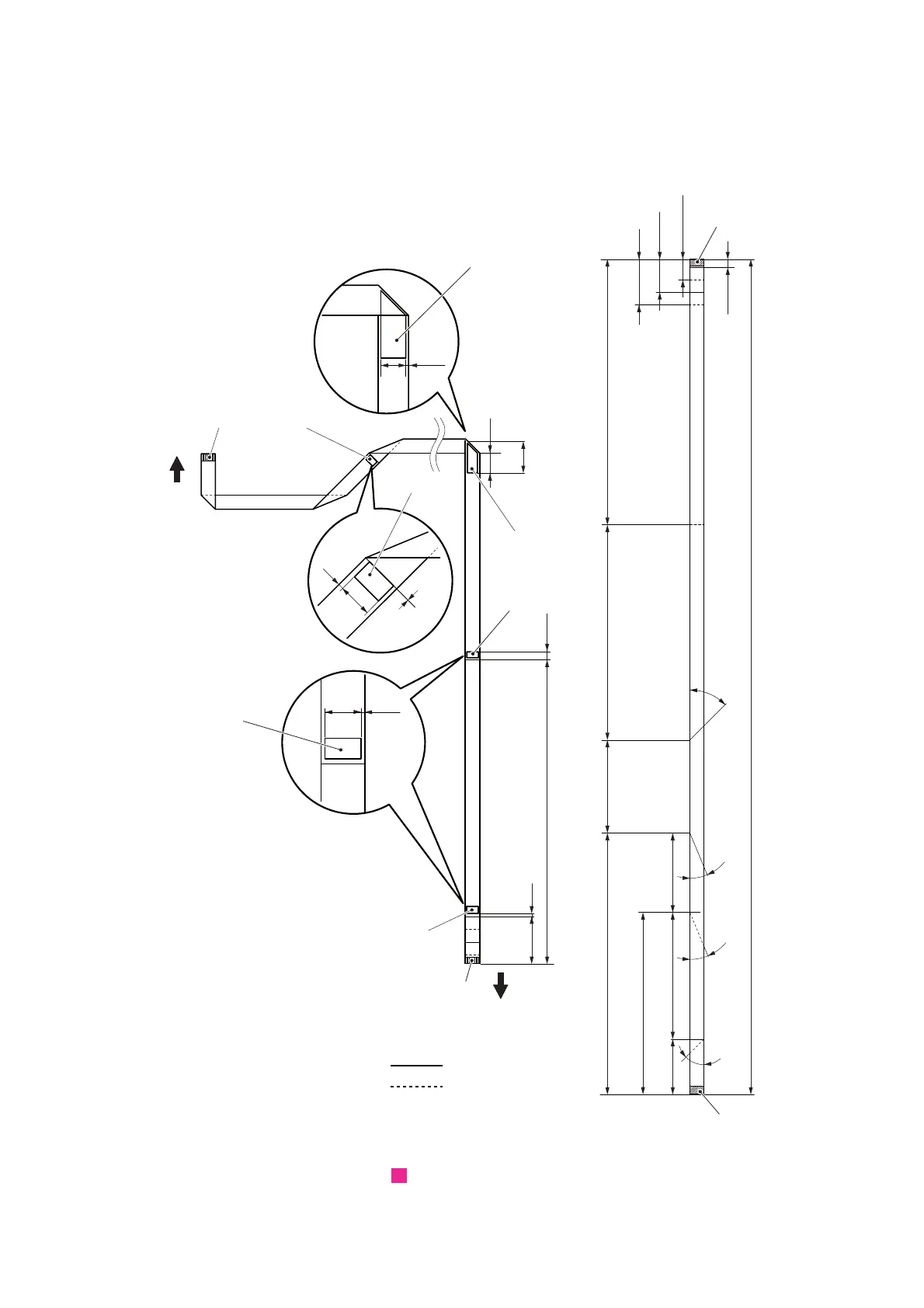
Assembling Note: Assemble a new First side CIS flat cable by bending the First side
CIS flat cable and affixing the Double-sided adhesive tape as
shown in the figure below.
Fig. 3-78
Routing of harnesses: See ADF unit/Document scanner unit”.
Double-sided adhesive tape
(14)
(1.5)
(14)
(1.5)
(357)
24
(38)
357
260
(252)
316
(1185)
220
67
(153)
45°
22.5°
22.5°
45°
55±1
40±1
25±1
10±1
±1
±2
±2
±2
±3.5°
±3.5°
±3.5°
±3.5°
±1
(96)
Supporting tape
Supporting tape
Terminal
Term inal
Mountain fold
Valley fold
±2
(55)
2±1
10±1
Double-sided
0±1
(14)
(1.5)
To main body
To CIS
Unit: mm
adhesive tape
Double-sided
adhesive tape
Double-sided
adhesive tape
Double-sided
adhesive tape
Double-sided
adhesive tape
Double-sided
adhesive tape
4

Table of Contents

Other manuals for Brother MFC-J6935DW

Related product manuals