EasyManua.ls Logo

BTS 2BV - Page 21

BTS 2BV
Print Icon
To Next Page IconTo Next Page
To Next Page IconTo Next Page
To Previous Page IconTo Previous Page
To Previous Page IconTo Previous Page
Loading...
- 20 -
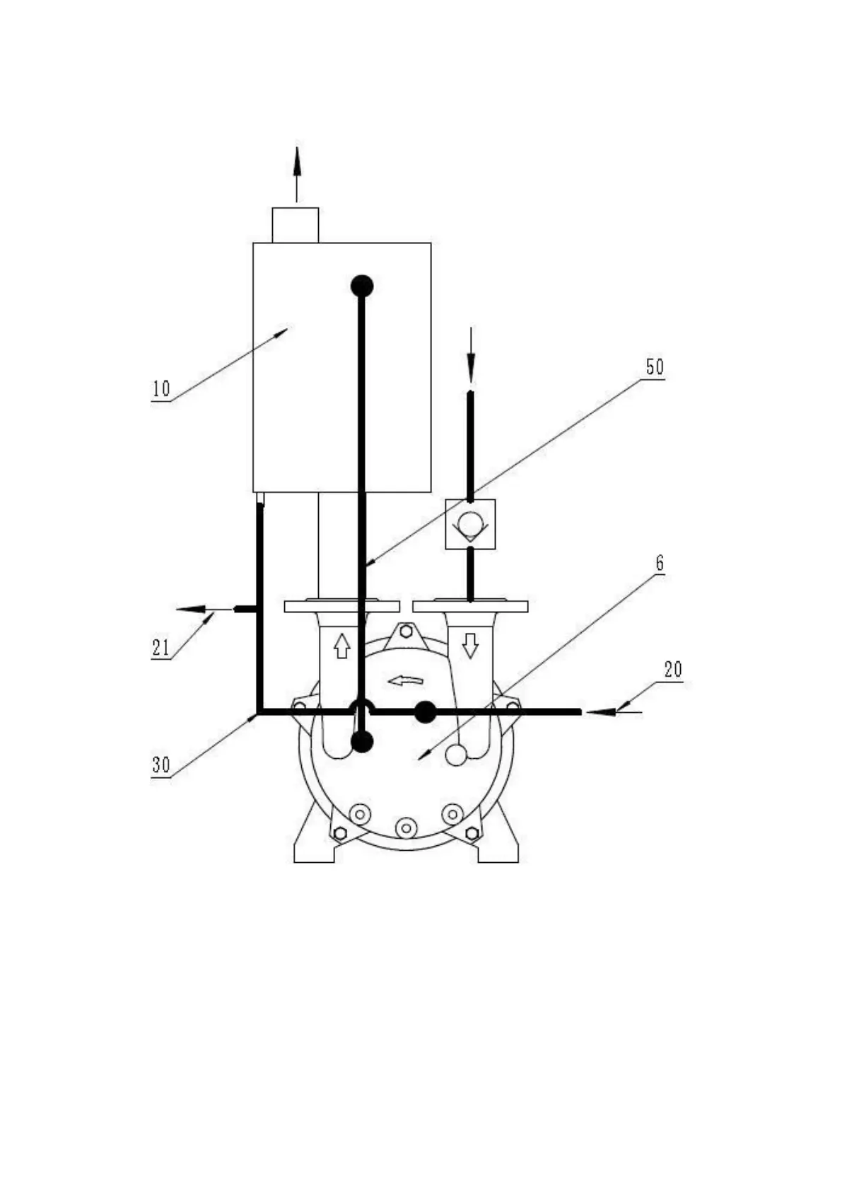
Малюнок 4. Вакуумний насос із сепаратором і захистом від
кавітації
6) вакуумний насос; 10) сепаратор; 20) подача робочої рідини; 21) злив робочої рідини; 30)
лінія циркуляції робочої рідини; 50) лінія захисту від кавітації.

Table of Contents