EasyManua.ls Logo

CAMAG ADC 2 - Dialog Mode

CAMAG ADC 2
41 pages
Print Icon
To Next Page IconTo Next Page
To Next Page IconTo Next Page
To Previous Page IconTo Previous Page
To Previous Page IconTo Previous Page
Loading...
ADC 2
Instruction Manual, November 2016 Page 22
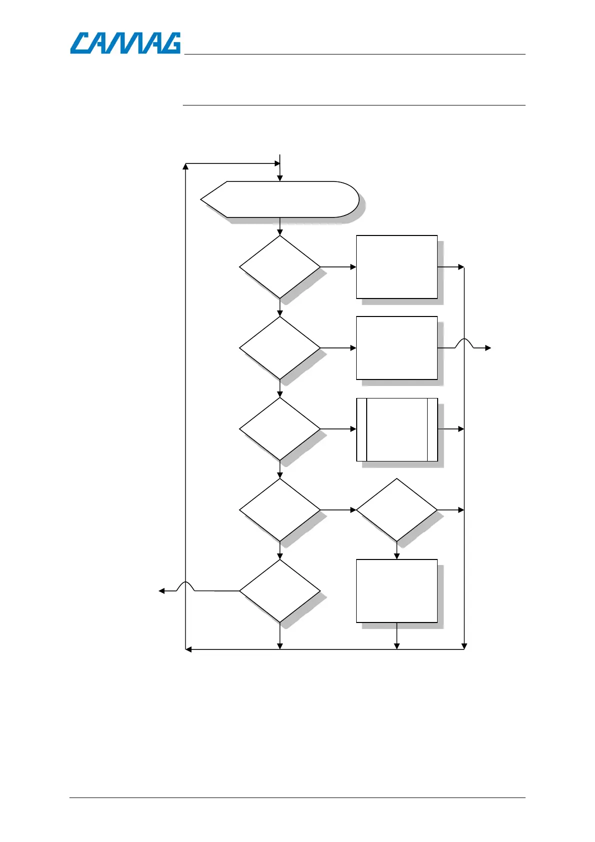
6.3. The method stack dialog
To enter the method selection dialog (Method stack), press the
RUN key when the instrument display shows System ready.
THIS METHOD ?
METHOD XX
ENTER ?
DIALOG ?
RUN
?
END
?
Increment /
decrement
method #
Start selected
method #
END
?
Delete
selected
method #
YES
YES
YES
YES
YES
YES
NO
NO
NO
NO
NO
Back to
Normal
operation
mode
Dialog
mode
NO
UP/
DOWN ?
Back to
Normal
operation
mode

Related product manuals