EasyManua.ls Logo

Canon iPF605 - Page 167

Canon iPF605
268 pages
Print Icon
To Next Page IconTo Next Page
To Next Page IconTo Next Page
To Previous Page IconTo Previous Page
To Previous Page IconTo Previous Page
Loading...
Chapter 4
4-29
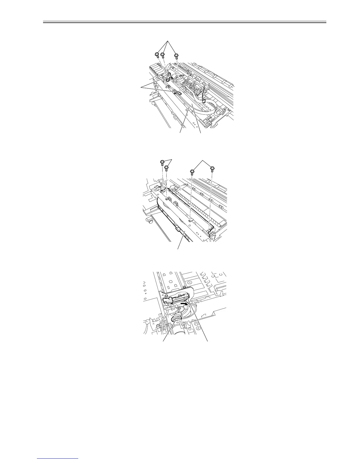
3) Remove the three screws[2], and then remove the two tube guides[1]. Remove the ink tube[3] from the front duct[4].
F-4-62
4) Remove the front duct[2] by removing the four screws[1].
F-4-63
5) Turn the pulley[1] in the direction of the arrow so that the spur unit[2] is at the top position.
F-4-64
[1]
[3] [4]
[2]
[1]
[2]
[1]
[1] [2]

Table of Contents

Other manuals for Canon iPF605

Related product manuals