EasyManua.ls Logo

CASE CONSTRUCTION CX37C - Safety area

CASE CONSTRUCTION CX37C
228 pages
Print Icon
To Next Page IconTo Next Page
To Next Page IconTo Next Page
To Previous Page IconTo Previous Page
To Previous Page IconTo Previous Page
Loading...
2-SAFETYINFORMATION
UsinganImplementotherthanabucket
Whenusingaspecialimplement(hydraulicbreaker,
cuttercrusheretc.),refertotheoperator'smanualpro-
videdwiththeimplement.
Implementoperationandmaintenance
Fortheimplementoperationandmaintenance,referto
theoperator'smanualprovidedwiththeimplement.
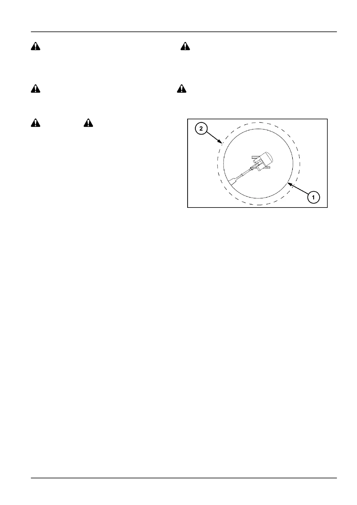
Safetyarea
Thesafetyareaisthespacenecessaryforthemachineto
operateatthemaximumrangeofthetoolandatfullswing
360°plus2m(6.56ft).
(1)Workingarea.
(2)Safetyarea.
SMIL13CEX2517AB1
2-11

Table of Contents

Related product manuals