EasyManua.ls Logo

Commodore CBM - Page 277

Commodore CBM
447 pages
Print Icon
To Next Page IconTo Next Page
To Next Page IconTo Next Page
To Previous Page IconTo Previous Page
To Previous Page IconTo Previous Page
Loading...
264
Mount
data tape
OPEN
data file
Read
fields
w/
INPUT
#
Print data
on
screen
CLOSE
data file
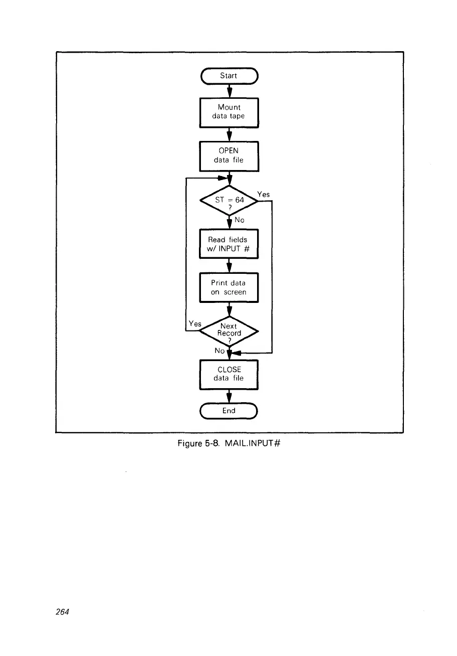
Figure 5-8.
MAIL.lNPUT#

Table of Contents

Other manuals for Commodore CBM

Related product manuals