EasyManua.ls Logo

Compaq 1000 Series - Rear Panels

Compaq 1000 Series
100 pages
Print Icon
To Next Page IconTo Next Page
To Next Page IconTo Next Page
To Previous Page IconTo Previous Page
To Previous Page IconTo Previous Page
Loading...
1-4 Compaq 1000 Series UPS Operation and Reference Guide
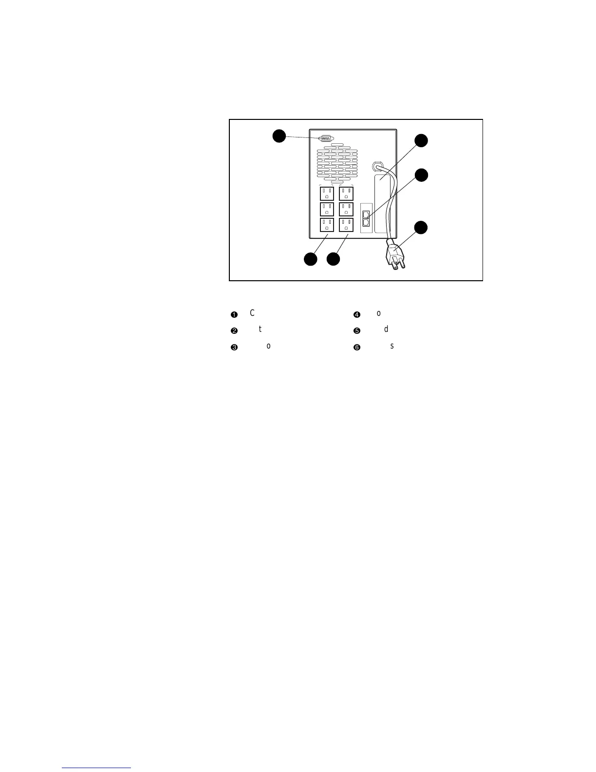
Rear Panels
The 1000 Series UPS models feature the following rear panel configurations:
1
6
5
2
3
4
LOAD 1 LOAD 2
Figure 1-3. Rear panel of T1000, T1500, and T1500j
1
Communications port
4
Power cord with 5-15p plug
2
Option slot
5
Load segment 2
3
Network Transient Protector
6
Load segment 1

Table of Contents

Related product manuals