EasyManua.ls Logo

Compumatic MINIDART v3 - Minidart PCB-505-3

Default Icon
79 pages
Print Icon
To Next Page IconTo Next Page
To Next Page IconTo Next Page
To Previous Page IconTo Previous Page
To Previous Page IconTo Previous Page
Loading...
-74-
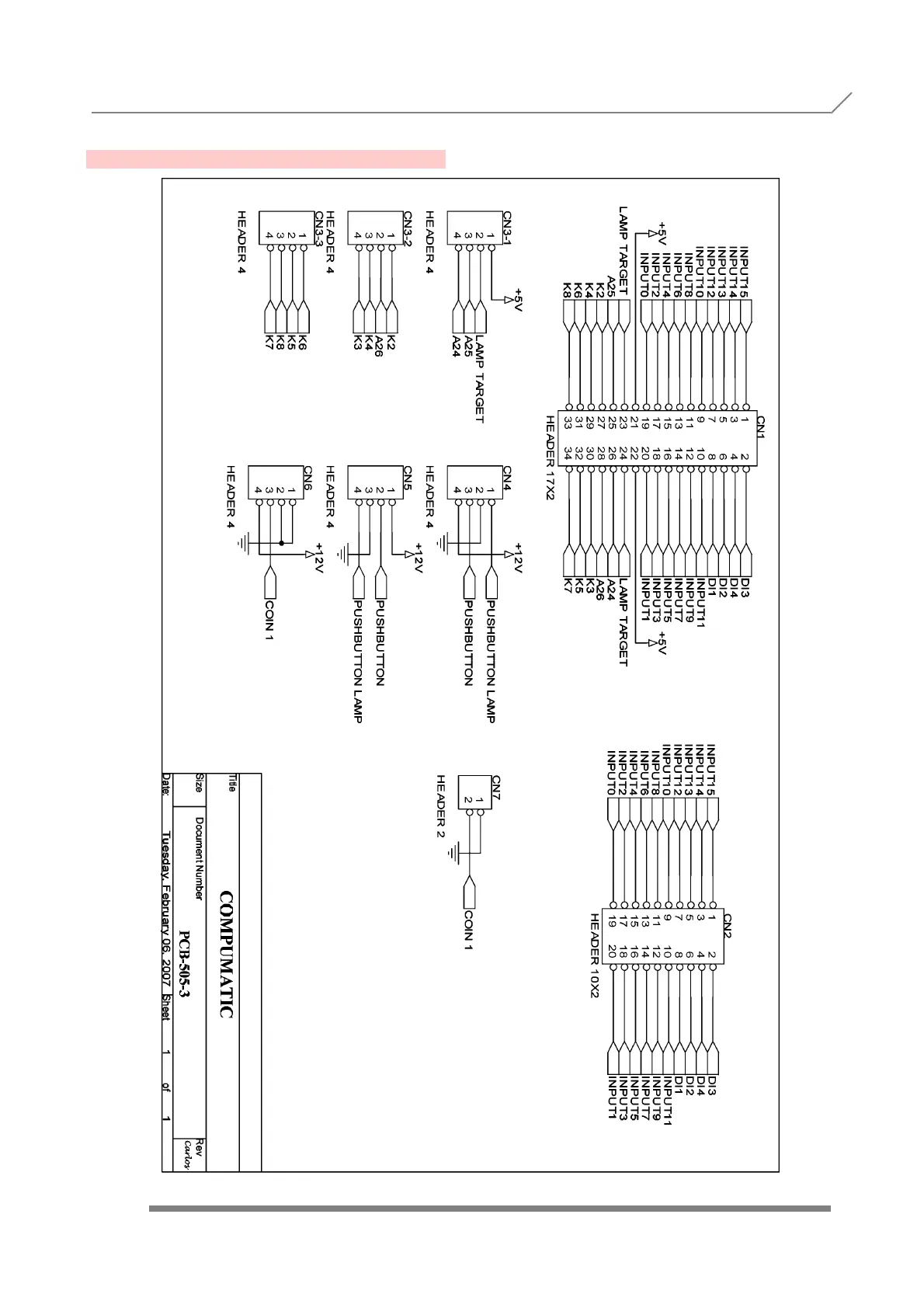
APPENDIX M- MINIDART PCB-505-3
APPENDIX M- MINIDART PCB-505-3

Table of Contents