EasyManua.ls Logo

Compumatic MINIDART v3 - Assemble of the Metallic Stand

Default Icon
79 pages
Print Icon
To Next Page IconTo Next Page
To Next Page IconTo Next Page
To Previous Page IconTo Previous Page
To Previous Page IconTo Previous Page
Loading...
-10-
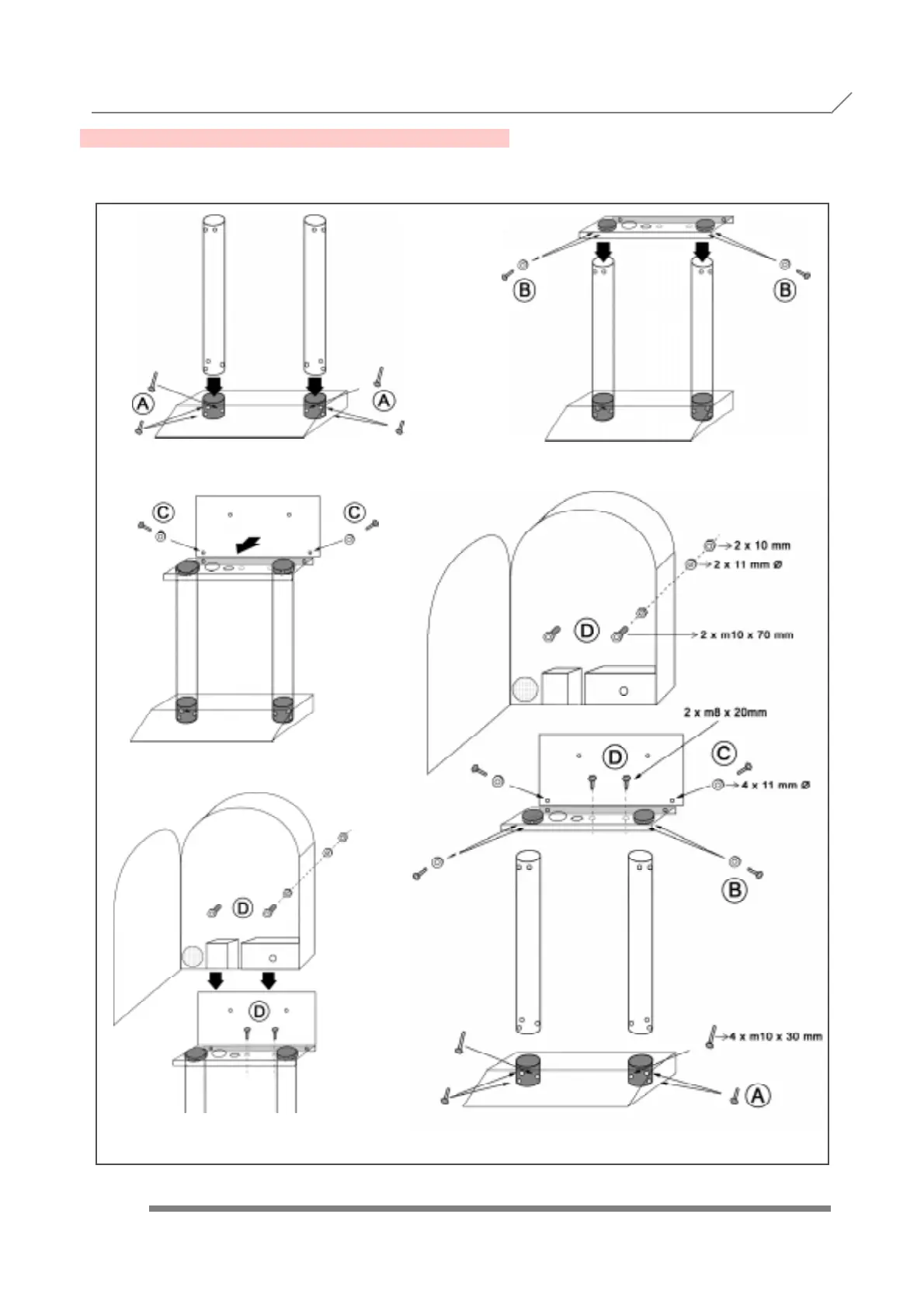
2.4- ASSEMBLE OF THE METALLIC STAND
Minidart machine can be mounted in the optional metallic stand.
The procedure of assembling is detailed below. See figure 4.
INTRODUCTION AND OBSERVATIONS
2.4- ASSEMBLE OF THE METALLIC STAND
FIGURE 4
1.- Insert the metallic cylinders in the
base and fix it with the screws A.
2.- Fix the upper base to the metallic
cylinders with the screws B.
3.- Join the back support to the upper
base with the screws C.
4.- Join the machine to the upper base
and the back support with the screws D.

Table of Contents