EasyManua.ls Logo

CONCORD LULA - Page 93

CONCORD LULA
137 pages
Print Icon
To Next Page IconTo Next Page
To Next Page IconTo Next Page
To Previous Page IconTo Previous Page
To Previous Page IconTo Previous Page
Loading...
89
To replace the arm into the operator drive shaft, move the door back and forth slowly. The pin
end of the arm will rotate, making it easier for insertion. Line up the placement marks made
earlier on the drive shaft and pin coupling. Replace the 1/4" - 2" screw and tighten.
In order to release the spring tension, push the door open slightly and the arm and spring will
start to rotate, as will the drive chains which are being held by the screwdriver. As soon as the
chain has rotated far enough to loosen the screwdriver, remove the screwdriver from between
the chain links.
Once the screwdriver has been removed, release the door and it should close up to the frame,
with about 5 lb. of pressure in the closed position.
NOTE
The PRO-LOCK will have to be manually retracted to permit the door to fully close. DO NOT
LET THE DOOR CLOSE UNCONTROLLED ONTO THE PRO-LOCK LATCH!
If the arm does not have sufficient tension to close properly, it may be necessary to relocate
the door arm on the drive shaft. To do so, prepare to remove the arm as previously instructed,
but it is not necessary to remove the arm from the door track.
Once the arm coupling has been dropped away from the operator drive shaft, move the door
back and forth to permit the arm coupling to be inserted one pin past the mark you have
already made on the coupling and drive shaft.
NOTE
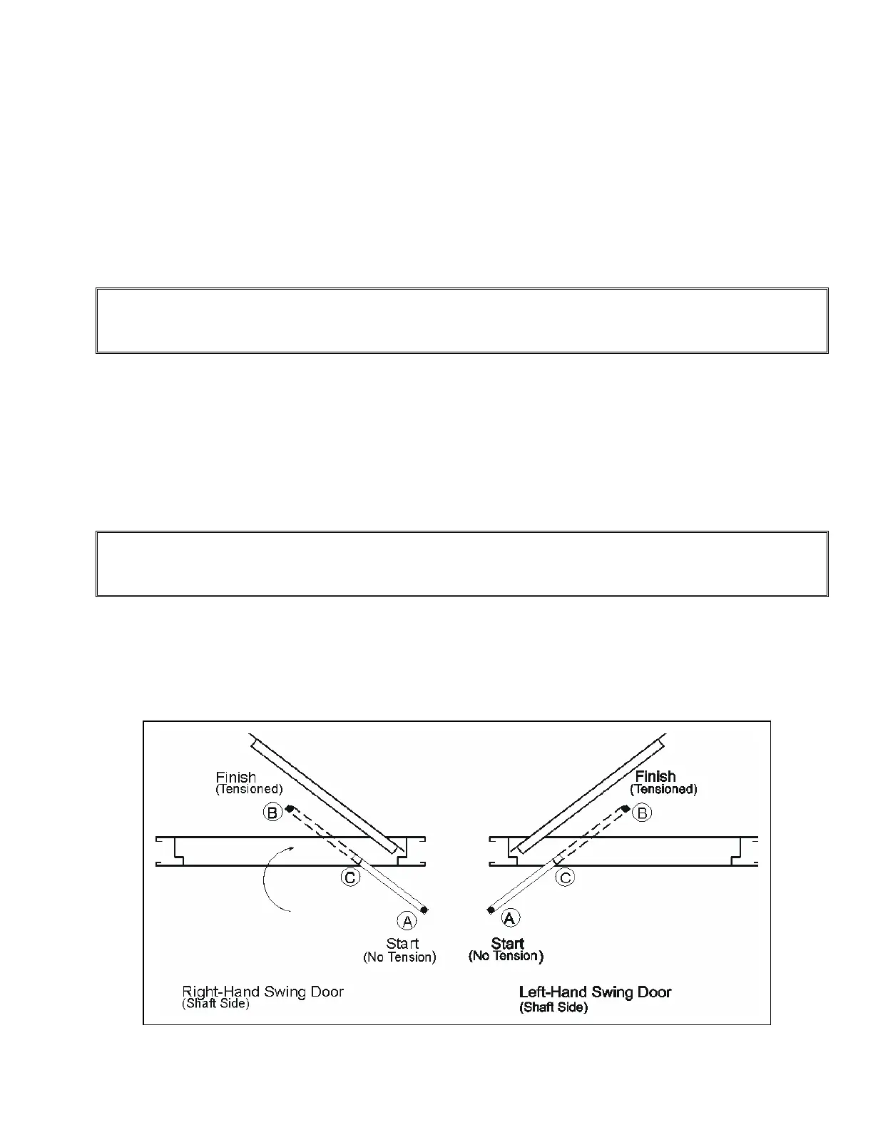
Rotation is dependent on the handing of the door, if you reinsert the coupling one pin past the
mark in the wrong direction, then you will remove tension rather than add tension.
Observe the rotation of the shaft to the door to see which direction adds, and which direction
releases tension from the spring. See also Figure # 55.
Once the operator in manually operating correctly, then continue to set-up the entrance.
Figure # 56 Pre-tensioning the Spring

Table of Contents