EasyManua.ls Logo

Craftex CT146 - Assembly of Legs & Stand

Craftex CT146
56 pages
Print Icon
To Next Page IconTo Next Page
To Next Page IconTo Next Page
To Previous Page IconTo Previous Page
To Previous Page IconTo Previous Page
Loading...
13
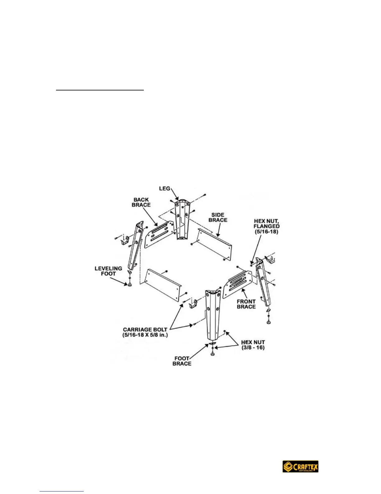
ASSEMBLY
Assembly of Legs & Stand
Locate the following parts
15 Hex Nuts, Flanged (5/16 18)
15 Carriage Bolts (5/15-18 x 5/8”)
8 Hex Nuts (3/8-16)
Place the front brace inside the first leg piece & align the holes on the leg piece
with the front brace. At this time, insert two carriage bolts and hand tighten only
using the flanged hex nuts.
See Figure 1
Figure 1

Related product manuals