EasyManua.ls Logo

Daikin R407C PLUS - Page 139

Daikin R407C PLUS
267 pages
Print Icon
To Next Page IconTo Next Page
To Next Page IconTo Next Page
To Previous Page IconTo Previous Page
To Previous Page IconTo Previous Page
Loading...
Test Operation Si33-105
128 Test Operation R407C PLUS Series Heat Recovery System
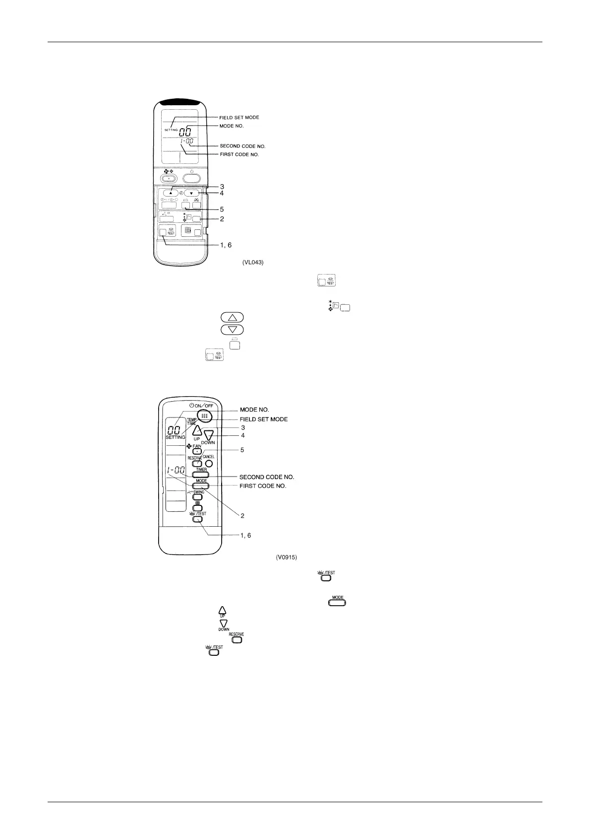
1.12.3 Wireless Remote Controller — Indoor Unit
BRC7A type
1. When in the normal mode, push the button for 4 seconds or more, and operation
then enters the “field set mode.”
2. Select the desired “mode No.” with the button.
3. Pushing the button, select the first code No.
4. Pushing the button, select the second code No.
5. Push the timer button and check the settings.
6. Push the button to return to the normal mode.
BRC7C type
1. When in the normal mode, push the button for 4 seconds or more, and operation
then enters the “field set mode.”
2. Select the desired “mode No.” with the button.
3. Pushing the button, select the first code No.
4. Pushing the button, select the second code No.
5. Push the timer button and check the settings.
6. Push the button to return to the normal mode.

Table of Contents