EasyManua.ls Logo

Danfoss FC 300 - Relay outputs; Programmable relay outputs; Cable lengths and cross sections for control cables; Control card performance

Danfoss FC 300
234 pages
Print Icon
To Next Page IconTo Next Page
To Next Page IconTo Next Page
To Previous Page IconTo Previous Page
To Previous Page IconTo Previous Page
Loading...
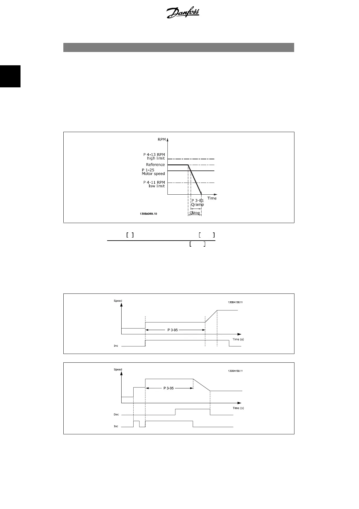
3-81 Quick Stop Ramp Time
Range: Function:
3 s
*
[0.01 - 3600.00 s] Enter the quick–stop ramp-down time, i.e. the deceleration time
from the rated motor speed to 0 RPM. Ensure that no resultant
over-voltage will arise in the inverter due to regenerative oper-
ation of the motor required to achieve the given ramp-down
time. Ensure also that the generated current required to achieve
the given ramp-down time does not exceed the current limit (set
in par. 4-18). Quick-stop is activated by means of a signal on a
selected digital input, or via the serial communication port.
Par
.3 81 =
t
Qstop
s xn
M
,
N
(
par
.1 25
)
RPM
Δ
jog ref
(
par
.3 19
)
RPM
2.6.9. 3-9* Digital Pot.Meter
The digital potentiometer function allows the user to increase or decrease the actual reference by
adjusting the set-up of the digital inputs using the functions
Increase
,
Decrease
or
Clear
. To ac-
tivate the function, at least one digital input must be set up to
Increase
or
Decrease
.
2. How to Programme FC 300 Programming Guide
84
MG.33.M2.02 - VLT
®
is a registered Danfoss trademark
2

Other manuals for Danfoss FC 300

Related product manuals