EasyManua.ls Logo

Danfoss VLT HVAC - Page 109

Danfoss VLT HVAC
200 pages
Print Icon
To Next Page IconTo Next Page
To Next Page IconTo Next Page
To Previous Page IconTo Previous Page
To Previous Page IconTo Previous Page
Loading...
The connector located on the power card provides the connection of line voltage for the cooling fans. The fans are connected from factory to be supplied
form a common AC line (jumpers between 100-102 and 101-103). If external supply is needed, the jumpers are removed and the supply is connected
to terminals 100 and 101. A 5 Amp fuse should be used for protection. In UL applications this should be LittleFuse KLK-5 or equivalent.
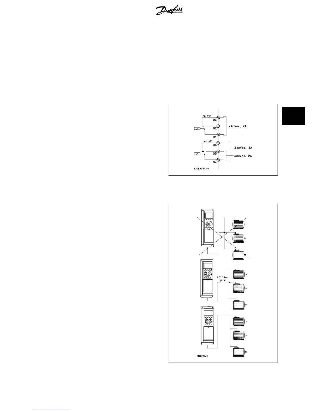
5.4.7 Relay output
Relay 1
Terminal 01: common
Terminal 02: normal open 240 V AC
Terminal 03: normal closed 240 V AC
Relay 2
Terminal 04: common
Terminal 05: normal open 400 V AC
Terminal 06: normal closed 240 V AC
Relay 1 and relay 2 are programmed in par. 5-40
Function Relay
,
par. 5-41
On Delay, Relay
, and par. 5-42
Off Delay, Relay
.
Additional relay outputs by using option module MCB 105.
5.4.8 Parallel Connection of Motors
The frequency converter can control several parallel-connected motors.
The total current consumption of the motors must not exceed the rated
output current I
INV
for the frequency converter.
When motors are connected in parallel, par. 1-29
Automatic Motor Adap-
tation (AMA)
cannot be used.
Problems may arise at start and at low RPM values if motor sizes are
widely different because small motors' relatively high ohmic resistance in
the stator calls for a higher voltage at start and at low RPM values.
The electronic thermal relay (ETR) of the frequency converter cannot be
used as motor protection for the individual motor of systems with parallel-
connected motors. Provide further motor protection by e.g. thermistors
in each motor or individual thermal relays. (Circuit breakers are not suit-
able as protection).
VLT
®
HVAC Drive Design Guide 5 How to Install
MG.11.B9.02 - VLT
®
is a registered Danfoss trademark
109
5

Table of Contents

Other manuals for Danfoss VLT HVAC

Related product manuals