EasyManua.ls Logo

Deif GPU-3 Hydro - 3-Phase, 2-Phase Voltage, 1-Phase Current

Deif GPU-3 Hydro
64 pages
Print Icon
To Next Page IconTo Next Page
To Next Page IconTo Next Page
To Previous Page IconTo Previous Page
To Previous Page IconTo Previous Page
Loading...
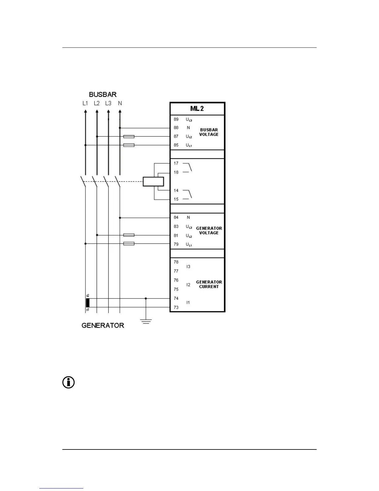
6.1.2 3-phase, 2-phase voltage, 1-phase current
3 phase measurement is possible with only two voltage measurements and one current meas-
urement. But it is only possible to use this method if the distribution of power is the same on
all 3 phases. Fuses: 2 A slow-blow.
ML-2 installation instructions 4189340582
UK
Wirings
DEIF A/S Page 41 of 64

Table of Contents

Other manuals for Deif GPU-3 Hydro

Related product manuals