EasyManua.ls Logo

Dodge 2000 DURANGO - Page 963

Dodge 2000 DURANGO
1054 pages
Print Icon
To Next Page IconTo Next Page
To Next Page IconTo Next Page
To Previous Page IconTo Previous Page
To Previous Page IconTo Previous Page
Loading...
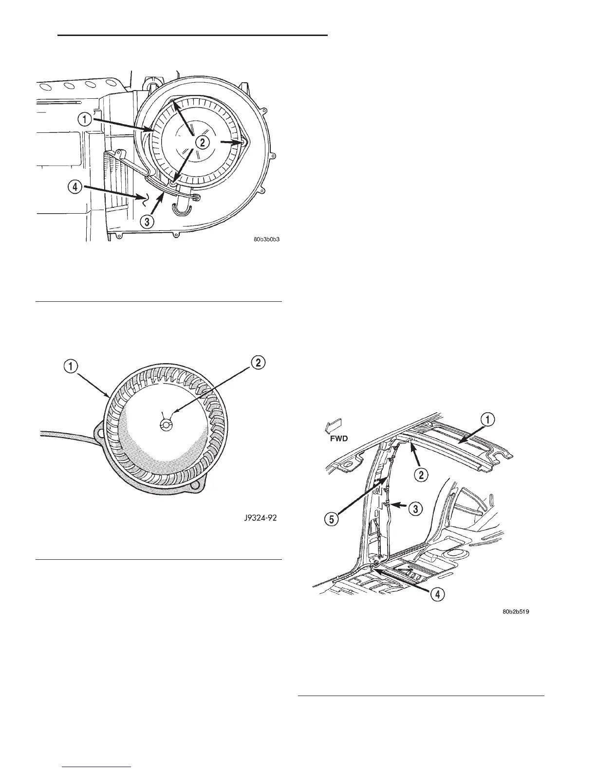
(4) Remove the blower wheel retainer clip and
remove the wheel from the blower motor shaft (Fig.
16).
INSTALLATION
(1) Press the blower wheel hub onto the blower
motor shaft. Be sure the flat on the blower motor
shaft is indexed to the flat on the inside of the blower
wheel hub.
(2) Install the retainer clip over the blower wheel
hub. The ears of the retainer clip must be indexed
over the flats on the blower motor shaft and blower
wheel hub.
(3) Place the blower motor, air spoiler, and wheel
assembly inside the heater-A/C housing and feed the
blower motor wire harness connector through the
grommet hole in the dash panel side of the housing.
(4) Pull the blower motor wiring through the hole
from the dash panel side of the heater-A/C housing
until the grommet is seated, while positioning the
blower motor and blower wheel assembly inside the
housing.
(5) Install the three screws that secure the blower
motor, air spoiler, and wheel assembly to the heater-
A/C housing. Tighten the screws to 2.2 N·m (20 in.
lbs.).
(6) Assemble and install the heater-A/C housing.
See Heater-A/C Housing in the Removal and Instal-
lation section of this group for the procedures.
REAR
The rear blower motor is used only on models with
the optional rear overhead A/C unit. Because the rear
blower motor and wheel are factory balanced units,
the rear blower motor, wheel, housing and mounting
hardware are serviced only as a complete unit.
REMOVAL
(1) Disconnect and isolate the battery negative
cable.
(2) Remove the headliner from the passenger com-
partment of the vehicle. Refer to Group 23 - Body for
the procedures.
(3) Disconnect the B-pillar drain hoses from the
wye fittings on each side of the rear overhead A/C
unit (Fig. 17).
Fig. 15 Blower Motor Remove/Install
1 BLOWER WHEEL
2 SCREWS
3 AIR SPOILER
4 BLOWER MOTOR HOUSING
Fig. 16 Blower Motor Wheel Remove/Install
1 BLOWER MOTOR WHEEL
2 RETAINER CLIP
Fig. 17 Rear Overhead A/C Drain Hose Remove/
Install
1 REAR OVERHEAD A/C UNIT
2 WYE FITTING
3 CLIP
4 GROMMET
5 DRAIN HOSE
DN HEATING AND AIR CONDITIONING 24 - 33
REMOVAL AND INSTALLATION (Continued)

Table of Contents

Related product manuals