EasyManua.ls Logo

Doosan DE12T - Guide for Valve Clearance Adjustment

Doosan DE12T
175 pages
Print Icon
To Next Page IconTo Next Page
To Next Page IconTo Next Page
To Previous Page IconTo Previous Page
To Previous Page IconTo Previous Page
Loading...
Note : Cylinder head bolts should be replaced by new one after using two or three times
because of being loosed as a result of its length too extended. (Limit length 150mm)
¥
Coat the push rod with engine oil and insert it into the push rod hole.
¥
Adjust the valve clearance as following guide.
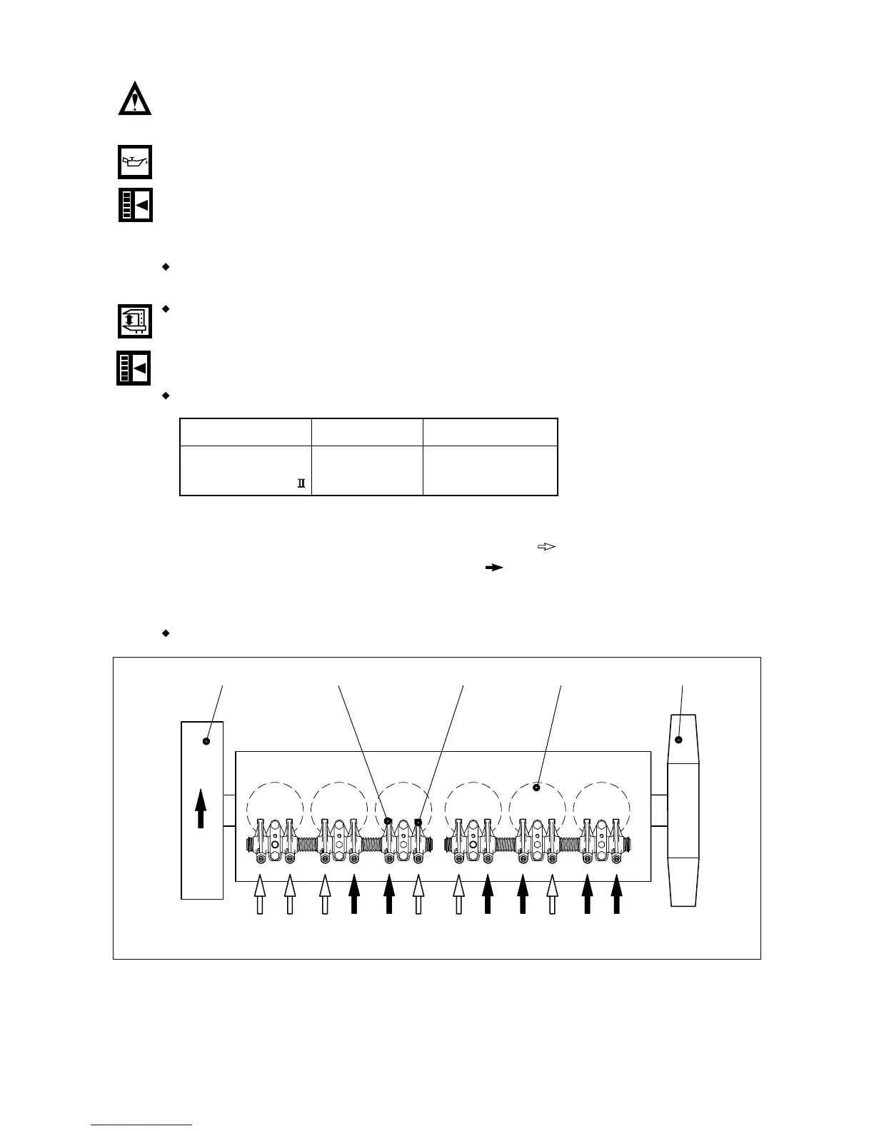
<Guide for valve clearance adjustment>
After letting the #1 cylinderÕs piston come at the compression top dead center by turning
the crankshaft, adjust the valve clearances.
Loosen the lock nuts of rocker arm adjusting screws and push the feeler gauge of specified
value between a rocker arm and a valve stem and adjust the clearance with adjusting screw
respectively and then tighten with the lock nut.
As for the valve clearance, adjust it when in cold, as follow.
- By cranking the engine, let #6 cylinderÕs valves overlap.
- In time, adjust the valve clearance corresponding to Ò Ó of lower lists.
- Adjust the valve clearance corresponding to Ò Ó of lower lists.
- After reinsuring the valve clearances, retighten if necessary.
No. 1 Cylinder is located at the side where flywheel was installed.
- 104 -
Model Intake Valve Exhaust Valve
DE12T
P126TI / P126TI-
0.3 mm 0.3 mm
123 456
Intake Valve Exhaust Valve Cylinder No. Cooling FanFlywheel
EA8O6001

Table of Contents

Related product manuals