EasyManua.ls Logo

Eclipse AVN5500 - Page 108

Eclipse AVN5500
168 pages
Print Icon
To Next Page IconTo Next Page
To Next Page IconTo Next Page
To Previous Page IconTo Previous Page
To Previous Page IconTo Previous Page
Loading...
108
2. Registering, correcting or deleting a memory point
Point registration
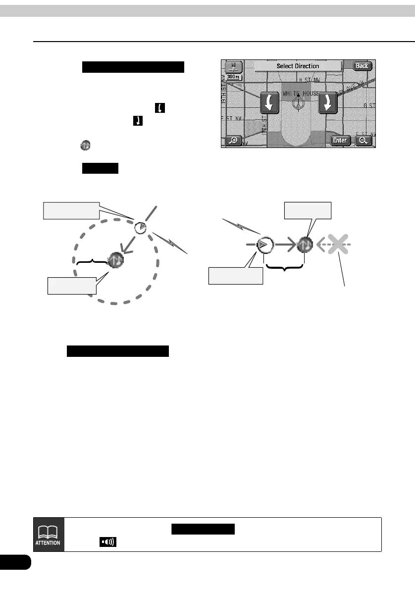
Touch .
Set the direction.
To move the direction
counterclockwise, touch
. To move
it clockwise, touch .
The memory point will be displayed
with .
Touch .
[When setting with direction]
Touch to enable an alarm to sound only when approaching a
memory point within about 0.3 miles from the set direction.
For example, when driving on a road running East-West, you can set an alarm to sound
when approaching a memory point from the west and not sound when approaching it from
the east.
Bell (with direction)
Enter
Chime
Memory point
Present location
About
0.3miles
West
East
Chime
Memory point
Present location
About 0.3miles
An alarm will not sound when approaching
this direction.
[With sound] [With direction]
Bell (with direction)
When selecting a symbol , an alarm is enabled.
Touch to hear each of the sounds.
With Sound

Table of Contents

Related product manuals