EasyManua.ls Logo

Eclipse AVN6620 - GPS Navigation System; How to View the Navigation Screen

Eclipse AVN6620
175 pages
Print Icon
To Next Page IconTo Next Page
To Next Page IconTo Next Page
To Previous Page IconTo Previous Page
To Previous Page IconTo Previous Page
Loading...
16
Introduction
3. GPS navigation system
By setting your destination, the device will automatically perform a route search and guide
you through the route using screen displays and voice announcements.
How to view the navigation screen
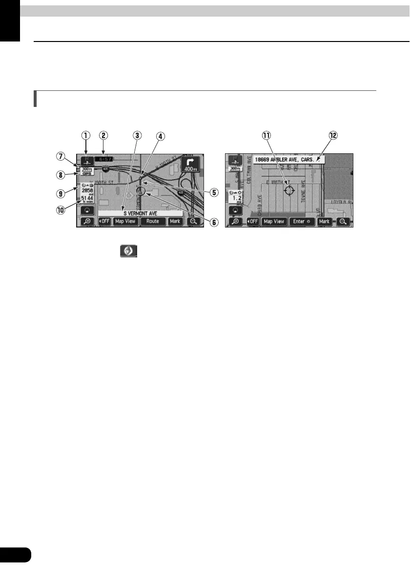
The navigation map display consists of a present location screen and a scrolled map screen.
1 Orientation mark ( , when the bearing is pointing upwards) The map orientation is
indicated.
Refer to "Switching the map orientation" on page 36 for how to switch the map direction
(North up or Heading up).
2 Clock display
The present time is indicated.
See page 25 for information concerning this mark's display.
3 Name display
The following names appear depending on the situation.
(Only geographical points represented as data in the map disk)
Names of junction and non-junction intersections
Names of roads taken
Names of interchange exits
4 Instruction points
Intersection guidance (intersection name display / intersection guidance screen) is
displayed.
Refer to "Intersection guidance" on page 88 for information concerning intersection
guidance.
5 Route display
When setting your destination, the route all the way to that point is displayed.
Route guidance will occur only when the present location appears on a dark blue line.
Scroll map screenPresent location screen

Table of Contents

Related product manuals