EasyManua.ls Logo

Ectron 1140A - Section VII, Theory of Operation; Operating Modes and Principles

Ectron 1140A
136 pages
Print Icon
To Next Page IconTo Next Page
To Next Page IconTo Next Page
To Previous Page IconTo Previous Page
To Previous Page IconTo Previous Page
Loading...
SECTION VII
7 THEORY OF OPERATION
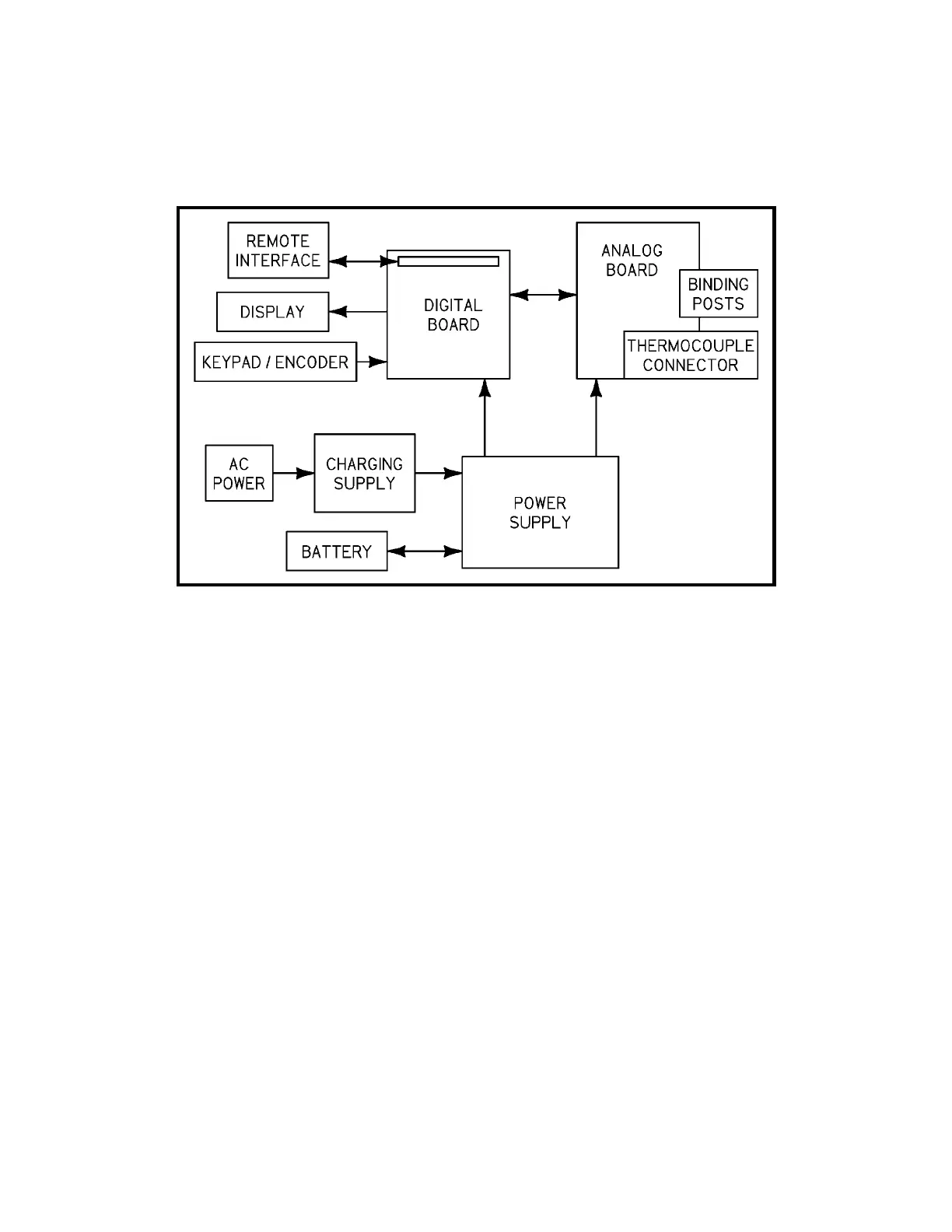
Figure 7-1: Model 1140A Block Diagram
OPERATING MODES
The Model 1140A has four basic modes of operation: thermocouple simulator, thermocouple
meter, precision voltage source, and precision voltmeter. Additionally, the instrument can support
connections to user wires of either thermocouple alloy or copper.
The following equations give the equivalent output for each of the above eight conditions. In the
equations, the function f
cn
(T) represents the theoretical emf that would be produced by a
thermocouple of the selected type at temperature T.
Thermocouple Simulator (Alloy Output)
The general equation for the Model 1140A when it is simulating a thermocouple in the alloy
mode is
T
OUTPUT
= T
SIMULATED
+ T
OFFSET
,
where T
OUTPUT
is the equivalent temperature of the simulated thermocouple, T
SIMULATED
is the user-
specified simulation temperature shown on the display, and T
OFFSET
is the offset temperature set in
the THERMOCOUPLETHERMOCOUPLE OFFSET menu.
7-1

Table of Contents