EasyManua.ls Logo

Ectron 1140A - Optional Battery; Figure 7-2: Source-Mode Operation Diagram; Figure 7-3: Meter-Mode Operation Diagram

Ectron 1140A
136 pages
Print Icon
To Next Page IconTo Next Page
To Next Page IconTo Next Page
To Previous Page IconTo Previous Page
To Previous Page IconTo Previous Page
Loading...
Theory of Operation
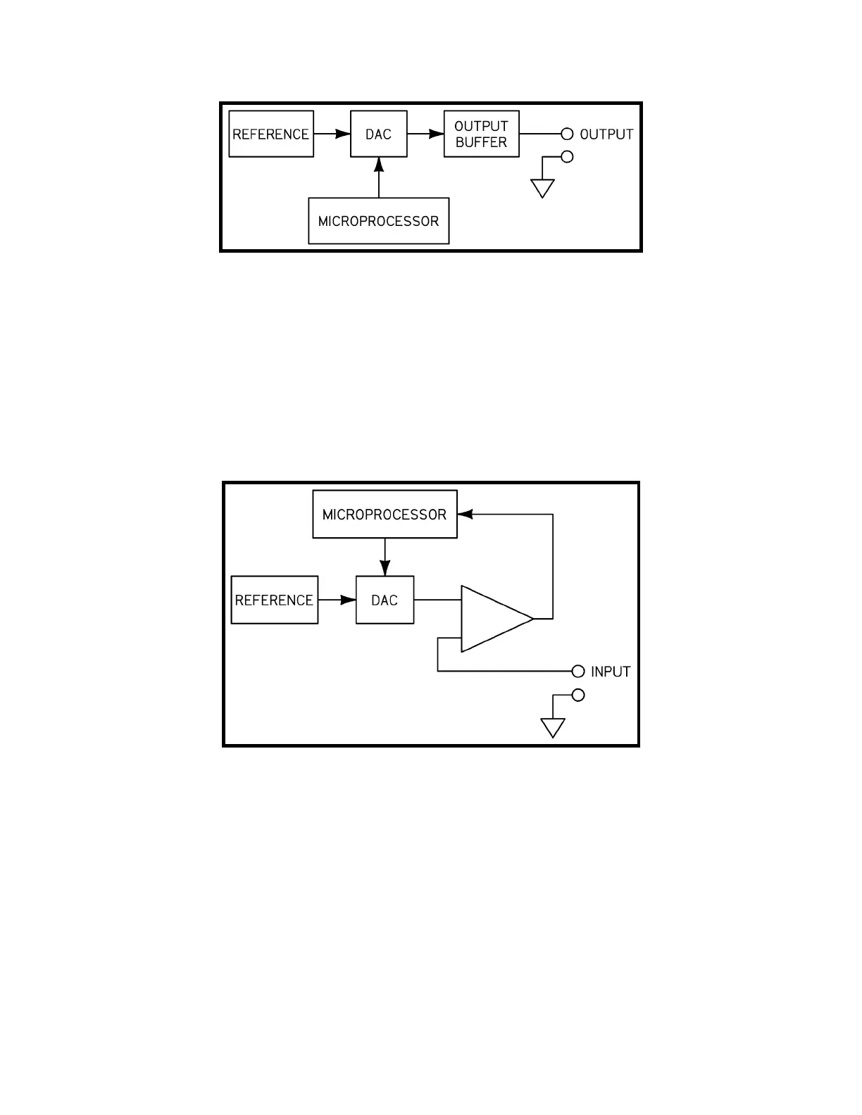
Figure 7-2: Source-mode Operation Diagram
As can be seen in the figure, the DAC passes a fraction of the reference voltage to the output
buffer and on to the instrument output. Firmware in the microprocessor decides what fraction of
the voltage should be passed to the output, based on user settings, output terminal temperature,
and the reference equations for the thermocouple type in use.
Meter Mode
As can be seen in Figure 7-3, meter-mode operation adds only a small amount of complexity, an
error amplifier.
Figure 7-3: Meter-mode Operation Diagram
During meter-mode operation, the positive input terminal is routed to an error amplifier that
informs the microprocessor of the difference between the input and the DAC output. The
microprocessor then adjusts the DAC output to minimize the difference between it and the DAC
output.
Optional Battery
The battery consists of sixteen nickel-metal hydride cells connected in series, a temperature
sensor, and fuse. The temperature sensor output is monitored by the charge controller to
determine battery condition and when to terminate a charge cycle.
Charging a battery from the fully discharged condition normally takes about 2.5 hours.
7-5

Table of Contents