EasyManua.ls Logo

Edwards nEXT200200 - Serial Enable; Figure 12 Logic Interface Connections - RS232 Serial Control; Figure 13 Logic Interface Connections - RS485 Serial Control

Edwards nEXT200200
100 pages
Print Icon
To Next Page IconTo Next Page
To Next Page IconTo Next Page
To Previous Page IconTo Previous Page
To Previous Page IconTo Previous Page
Loading...
number of pumps to a single master. Refer to Figure: R
S485 mul-drop connecon on
page 46.
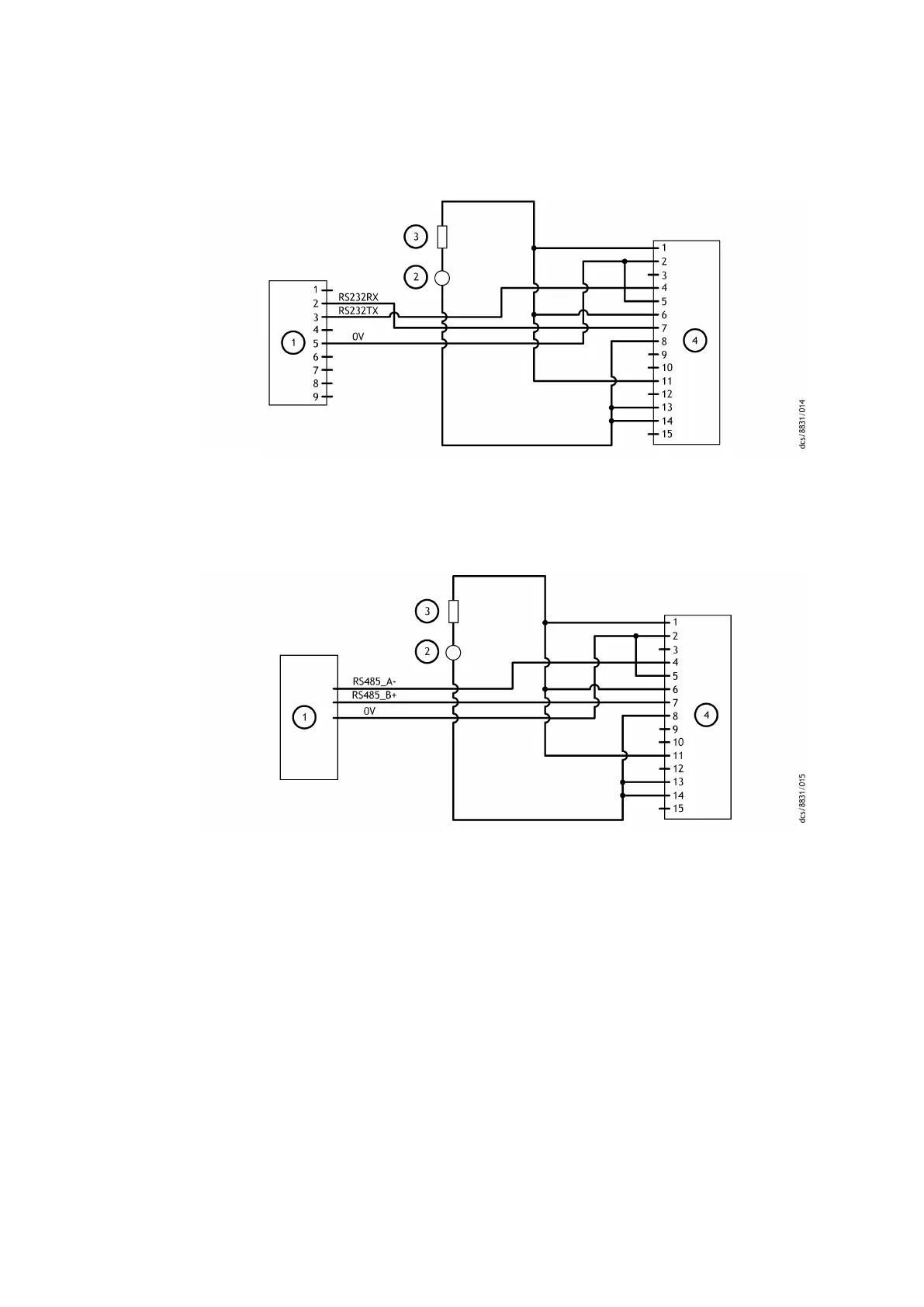
Figure 12 Logic interface connecons - RS232 serial control
1. RS232 interface on control equipment 2. 24 48 V d.c. electric
al supply
3. Fuse 4. nEXT pump logic interface
1. RS232 interface on control equipment 2. 24 48 V d.c. electrical supply
3. Fuse 4. nEXT pump logic interface
Figure 13 Logic interface connecons - RS485 serial control
1. RS485 interface on control equipment 2. 24 48 V d.c. electric
al supply
3. Fuse 4. nEXT pump logic interface
1. RS485 interface on control equipment 2. 24 48 V d.c. electrical supply
3. Fuse 4. nEXT pump logic interface
4.7.2 Serial enable
To send a serial message over the serial link, acvate the serial enable. To acvate the
serial enable, link the serial enable input signal (pin 5) to pin 2 of the customer logic
interface mang half.
We recommend you to incorporate this link into the serial communicaons cable so that
the serial enable is acvated only when the serial cable is connected. When the cable is
removed, serial enable will become inacve.
Serial enable operates as an interlock for the start commands sent over the serial
interface. If the pump operates in serial control mode (having been sent a serial start
command) and the serial enable becomes inacve, the pump will trigger a fail condion
Page 43
B85200880_D - Ins
tallaon

Table of Contents

Related product manuals