EasyManua.ls Logo

Enerdis C.A 2150-E - Page 30

Enerdis C.A 2150-E
55 pages
Print Icon
To Next Page IconTo Next Page
To Next Page IconTo Next Page
To Previous Page IconTo Previous Page
To Previous Page IconTo Previous Page
Loading...
30
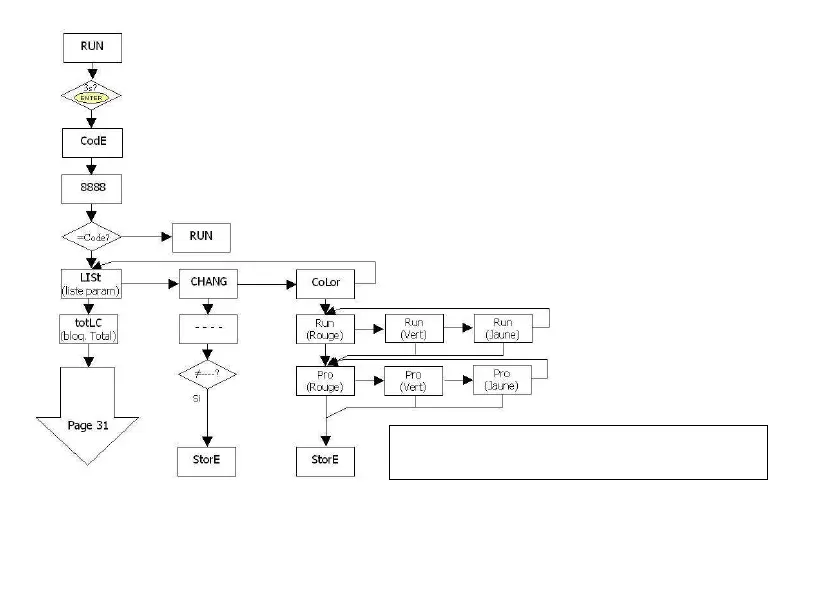
Note: the color selection of the alarms is made in the
setpoints menu (Page 38)