EasyManua.ls Logo

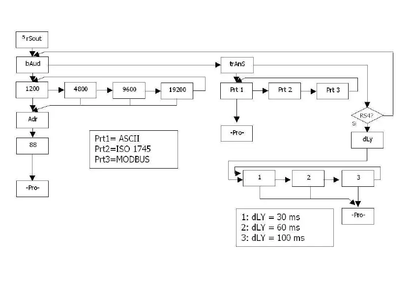
Enerdis C.A 2150-E - RS Output Menu Diagram

Enerdis C.A 2150-E
55 pages
Print Icon
To Next Page IconTo Next Page
To Next Page IconTo Next Page
To Previous Page IconTo Previous Page
To Previous Page IconTo Previous Page
Loading...
44
7.2.4 RS output menu diagram