EasyManua.ls Logo

Enerdis C.A 2150-E - Setpoints Menu Diagram

Enerdis C.A 2150-E
55 pages
Print Icon
To Next Page IconTo Next Page
To Next Page IconTo Next Page
To Previous Page IconTo Previous Page
To Previous Page IconTo Previous Page
Loading...
38
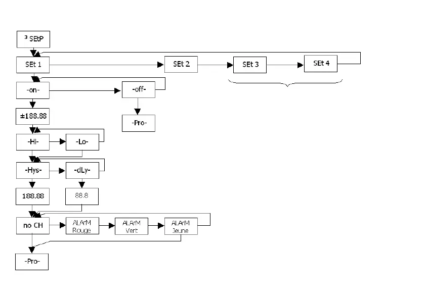
7.1.6 Setpoints menu diagram
They can only be programmed if an
2
Relays SPDT, 4 Relays SPST,
4 Output
NPN or 4 Output PNP
option has been
installed or if the logic
function 13
has been programmed
The complete programming of one of the setpoints i
s showed here, it is valid for the rest of
the setpoints.