EasyManua.ls Logo

Etatron eOne PLUS - Sortie des Services Relais; Diagramme du Flux Menu Alarmes; Diagramme du Flux Alarme Niveau

Default Icon
Print Icon
To Next Page IconTo Next Page
To Next Page IconTo Next Page
To Previous Page IconTo Previous Page
To Previous Page IconTo Previous Page
Loading...
FRANÇAIS
113
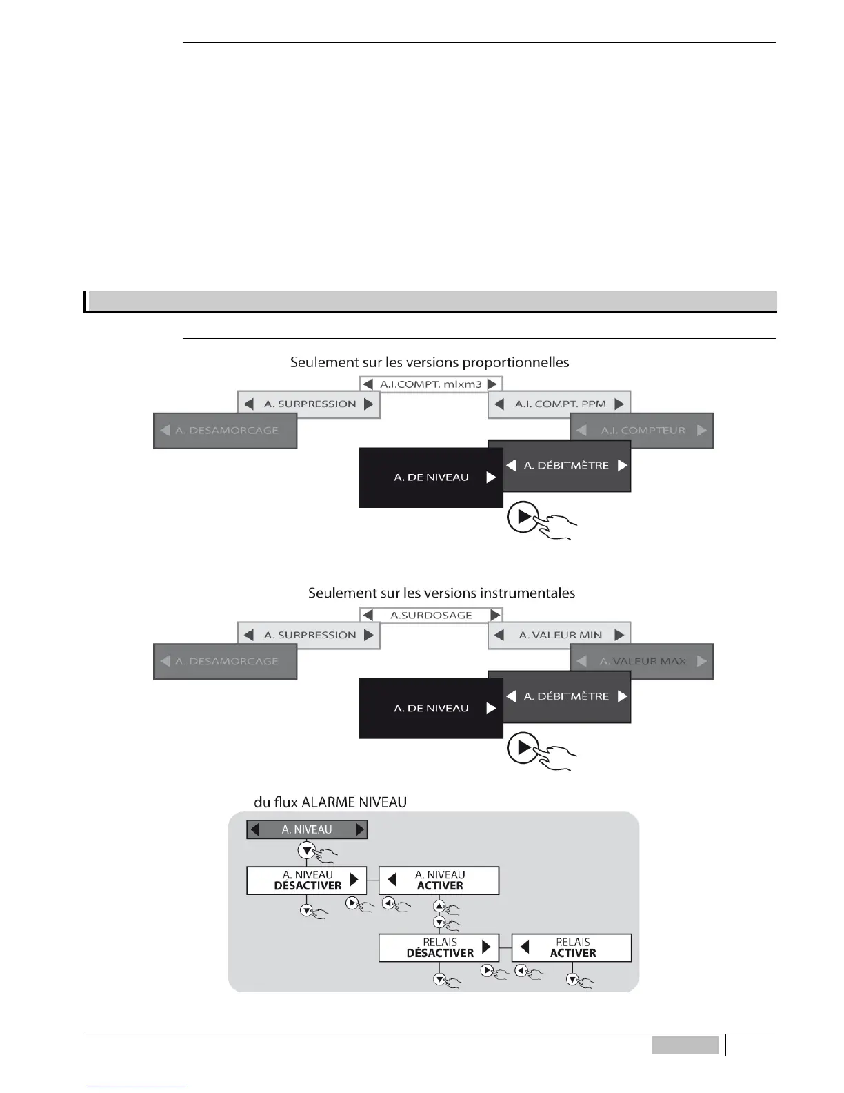
Sortie des services relais
À l’intérieur de chaque sous-menu peut être activée ou désactivée l’intervention d’un relais associé à une plusieurs des
alarmes suivantes :
Alarme de niveau
Alarme débitmètre
Alarme des impulsions du compteur qui intervient dans la fonction 1xN(M) (seulement pour les versions
proportionnelles)
Alarme des impulsions du compteur en PPM (seulement pour les versions proportionnelles)
Alarme des impulsions du compteur en ml x m3 (seulement pour les versions proportionnelles)
Alarme de la valeur maximale (seulement pour les versions instrumentales)
Alarme de la valeur minimale (seulement pour les versions instrumentales)
Alarme de surdosage (seulement pour les versions instrumentales)
Alarme DESAMORCAGE
Alarme SURPRESSION
Par défaut les alarmes citées ci-dessus sont toutes désactivées sauf l’ALARME NIVEAU (par défaut ACTIVÉE)
DIAGRAMME DU FLUX MENU ALARMES
Diagramme du flux Alarme Niveau

Table of Contents

Related product manuals