EasyManua.ls Logo

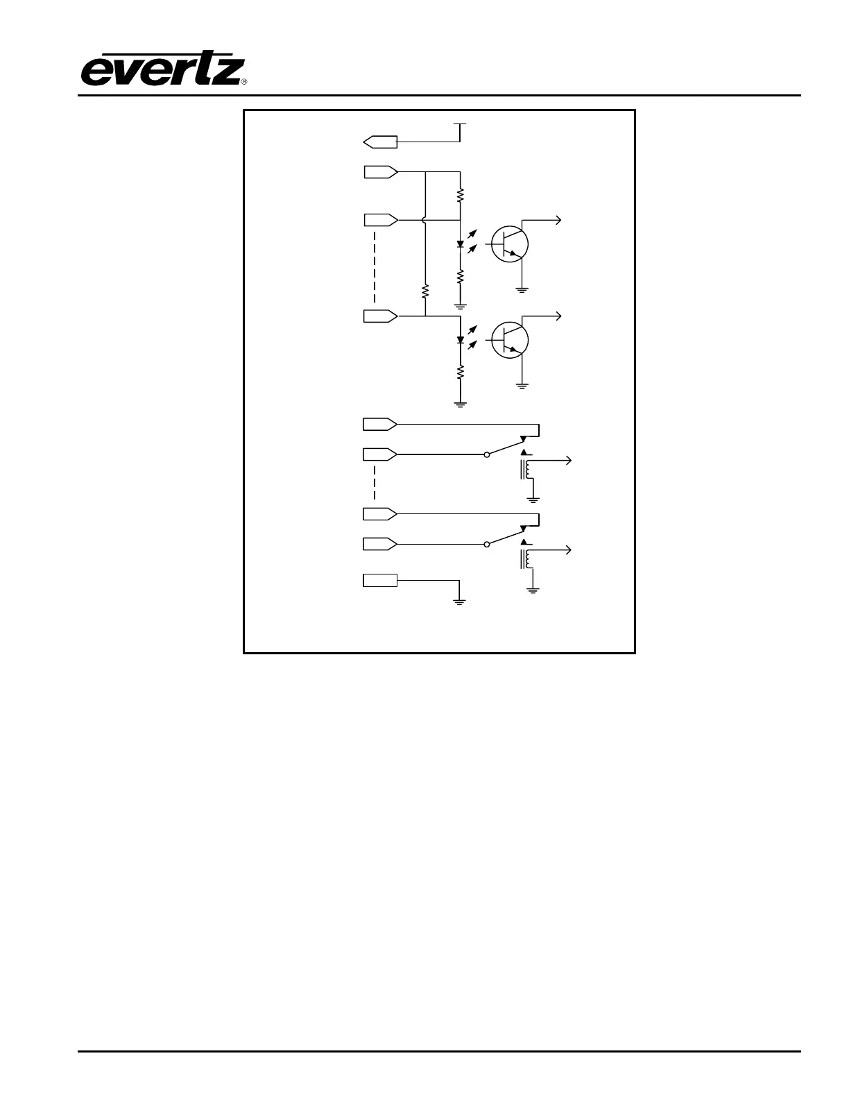
evertz HDSD9545DLY-PRO - Figure 2-2: General Purpose I;O Schematic

evertz HDSD9545DLY-PRO
64 pages
Print Icon
To Next Page IconTo Next Page
To Next Page IconTo Next Page
To Previous Page IconTo Previous Page
To Previous Page IconTo Previous Page
Loading...
HDSD9545DLY - PRO Profanity Bypass Delay Manual
INSTALLATION Revision 1.3.7 Page 2-9
15
16
+ 5 VDC
4.7 K
Vext
GND
1
to
internal
circuit
220 Ohm
to
internal
circuit
220 Ohm
4.7 K
GPI 1
Vint
18
17
GPO1 NC*
GPO1 Common
24
23
GPO4 NC*
GPO4 Common
25
from
internal
circuit
from
internal
circuit
*NC Normally Closed with power Off
GPI 8
8
Figure 2-2: General Purpose I/O Schematic

Table of Contents

Related product manuals