EasyManua.ls Logo

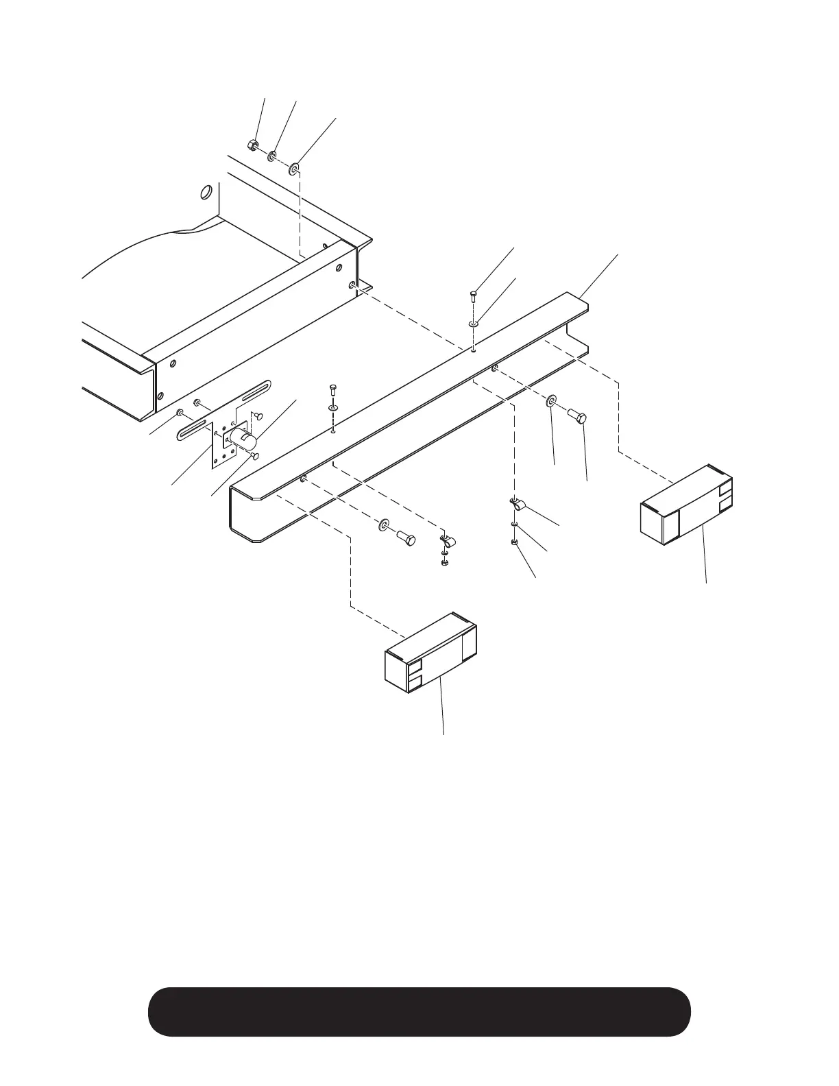
Finn B70 - Bumper Assembly (Standard Trailer Model)

Finn B70
89 pages
Print Icon
To Next Page IconTo Next Page
To Next Page IconTo Next Page
To Previous Page IconTo Previous Page
To Previous Page IconTo Previous Page
Loading...
52
WHEN ORDERING PARTS, BE SURE TO STATE
SERIAL NUMBER OF MACHINE
1
2
3
4
5
6
3
7
1
8
10
11
12
9
13
14
15
16

Table of Contents

Related product manuals