EasyManua.ls Logo

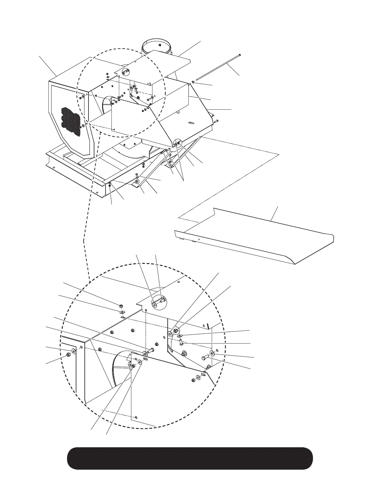
Finn B70 - Shredder Box and Feed Chute (R-H Model)

Finn B70
89 pages
Print Icon
To Next Page IconTo Next Page
To Next Page IconTo Next Page
To Previous Page IconTo Previous Page
To Previous Page IconTo Previous Page
Loading...
42
WHEN ORDERING PARTS, BE SURE TO STATE
SERIAL NUMBER OF MACHINE
5
13
2
6
3
1
13
8
10
9
9
710
10
11
4
10
11
13
14
10
12
13
15
10
10
11
12
13
15
13 14

Table of Contents

Related product manuals