EasyManua.ls Logo

Frick QUANTUM 4 - Analog Board #2

Frick QUANTUM 4
118 pages
Print Icon
To Next Page IconTo Next Page
To Next Page IconTo Next Page
To Previous Page IconTo Previous Page
To Previous Page IconTo Previous Page
Loading...
FRICK
QUANTUM™ COMPRESSOR CONTROL PANEL S90-010 M
MAINTENANCE Page 23
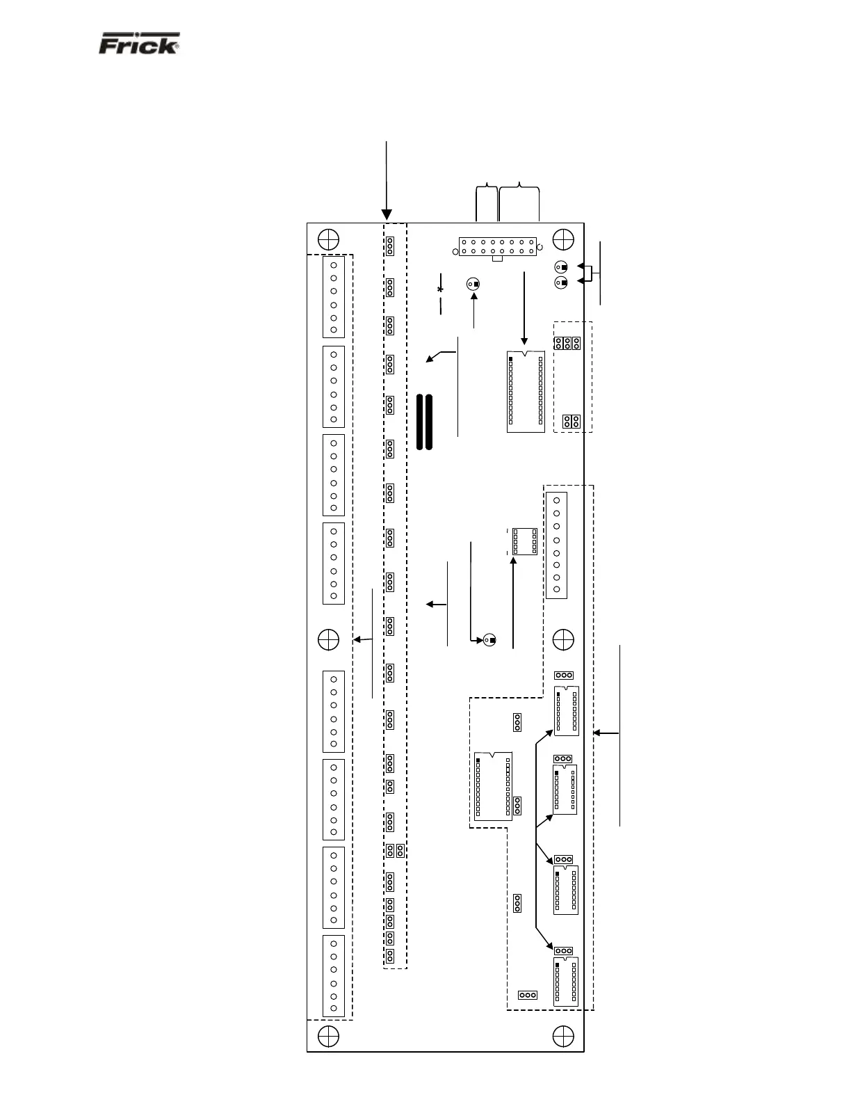
ANALOG BOARD #2
PIN 8 = CONDENSER
OUTPUT
PIN 7 = GND
PIN 6 = VARIABLE SPEED
OUTPUT
PIN 5 = GND
PIN 4 = PID / PROGRAMMABLE
OUTPUT
PIN 3 = GND
PIN 2 = PID / PROGRAMMABLE
OUTPUT
PIN 1 = GND
U7
+5 VOLTS
+12 VOLTS
-12 VOLTS
GND
-RX / -TX
+RX / +TX
S
1 6P5
ANALOG INPUT CHANNELS
+ S - + S - + S - + S -+ S - + S - + S - + S - + S - + S - + S - + -
1 6P1 1 6P2 1 6P3
D16
PROGRAM EPROM
Frick
*
POWER
ON
+5 VDC
POWER
IS OK
J1
1
2
3
J2
1
2
3
J3
1
2
3
J4
1
2
3
J5
1
2
3
J6
1
2
3
J7
1
2
3
J8
1
2
3
J9
1
2
3
J10
1
2
3
J11
1
2
3
J12
1
2
3
J13
1
2
3
J14
J15
1
2
3
J17
J18
1
2
3
J19
J20
J21
J22
J16
P9
AMP794068-1
1
D14
TX
D13
RX
I/O
COMMUNICATION
BOARD DC
POWER
I/O
COMMUNICATIONS
COMMUNICATIONS JUMPERS
SERIAL #
REVISION
AIO
19200
PROGRAM VERSION
U13
BOARD REVISION LEVEL
ANALOG BOARD #2
PART # 640D0063H01
REPLACEMENT PART # 640C0026G02
ANALOG OUTPUT JUMPERS AND INTEGRATED CHIPS
1 6P4 1 6P6
PART # 640D0063H01
BOARD PART NUMBER
FUTURE PID #1
FUTURE PID #2
FUTURE PID #3
ENTERING PROCESS
TEMPERATURE
TEMP. / PRESSURE
MONITORING
AUXILIARY ANALOG #1
TEMP. / PRESSURE
MONITORING
AUXILIARY ANALOG #2
TEMP. / PRESSURE
MONITORING
AUXILIARY ANALOG #3
TEMP. / PRESSURE
MONITORING
AUXILIARY ANALOG #4
TEMP. / PRESSURE
MONITORING
AUXILIARY ANALOG #5
TEMP. / PRESSURE
MONITORING
AUXILIARY ANALOG #6
TEMP. / PRESSURE
MONITORING
AUXILIARY ANALOG #7
TEMP. / PRESSURE
MONITORING
AUXILIARY ANALOG #8
TEMP. / PRESSURE
MONITORING
AUXILIARY ANALOG #9
1 6P7
SIDE LOAD /
ECONOMIZER
+ S
- + S -
MAIN OIL INJECTION
(USED ONLY ON
VERTICAL UNITS WITH
LIQUID INJECTION)
1 6P8
KW MONITORING
+ S
- + S -
D15
"ACTIVE"
MICROPROCESSOR
WATCHDOG LAMP
(BLINKS IF OK)
1
OPEN
DIPSWITCH SETTINGS
SIGNIFY BOARD
IDENTIFICATION NUMBER
8 1P10
DIGITAL TO ANALOG
CONVERTER
AD75004
U15
J42
1
2
3
J23
1
2
3
ANALOG CH #4
AD649JN
U4
J24
1
2
3
ANALOG CH #3
AD649JN
U5
J41
1
2
3
J25
1
2
3
ANALOG CH #2
AD649JN
U6
J26
1
2
3
ANALOG CH #1
AD649JN
J40
1
2
3
J29
1
2
3
4-20 MA DRIVER
ANALOG OUTPUT
JUMPERS
J33
J34
J37
J35
J36

Table of Contents

Other manuals for Frick QUANTUM 4

Related product manuals