EasyManua.ls Logo

Furuno FELCOM 16 - Inmarsat C System Configuration and Satellite Coverage

Furuno FELCOM 16
187 pages
Print Icon
To Next Page IconTo Next Page
To Next Page IconTo Next Page
To Previous Page IconTo Previous Page
To Previous Page IconTo Previous Page
Loading...
INMARSAT C SYSTEM
xi
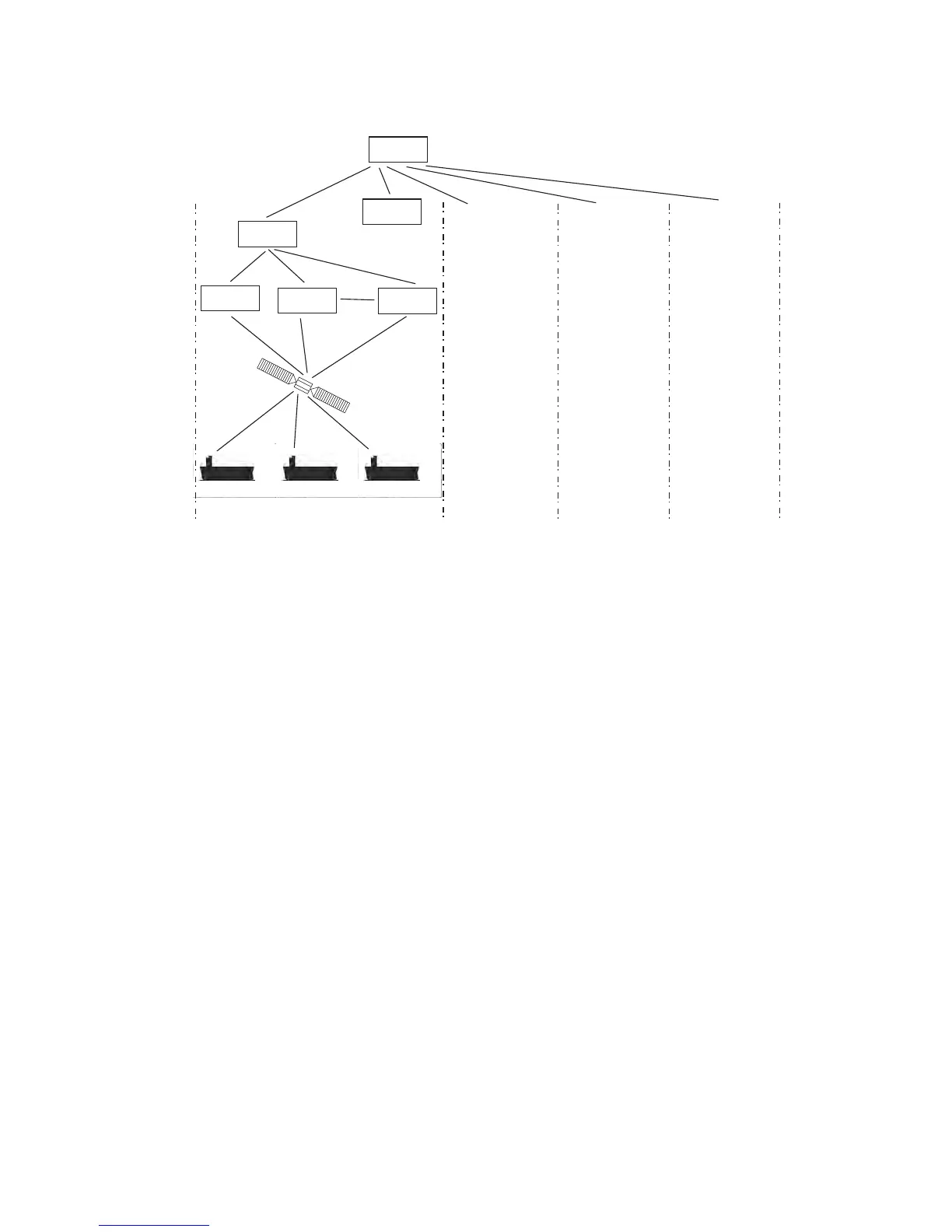
Inmarsat C System Configuration
0.0 m
-/+: To set option
0.0 m
-/+: To set option
0.0 m
-/+: To set option
OCC
SCC
NCS
LES
LES LES
Same as left Same as left Same as left
Satellite
MES
AOR-West AOR-East IOR POR
OCC: Operation Control Center
SCC:
Satellite Control Center
NCS:
Network Coordination Station
MES:
Mobile Earth Station
LES:
Land Earth Station
Inmarsat C system configuration

Table of Contents

Other manuals for Furuno FELCOM 16

Related product manuals