EasyManua.ls Logo

Gill Instruments 1561-PK-020 - Grounding (Earthing); Mounting Windmaster (1590-PK-020;W +Options and Windmaster Pro (1561-PK-020;W + Options); Cable Strain Relief; Flange Mounting

Gill Instruments 1561-PK-020
69 pages
Print Icon
To Next Page IconTo Next Page
To Next Page IconTo Next Page
To Previous Page IconTo Previous Page
To Previous Page IconTo Previous Page
Loading...
WindMaster and WindMaster Pro 1561-PS-0001. Issue 11 February 2017
________________________________________________________________________________________________________________________
30
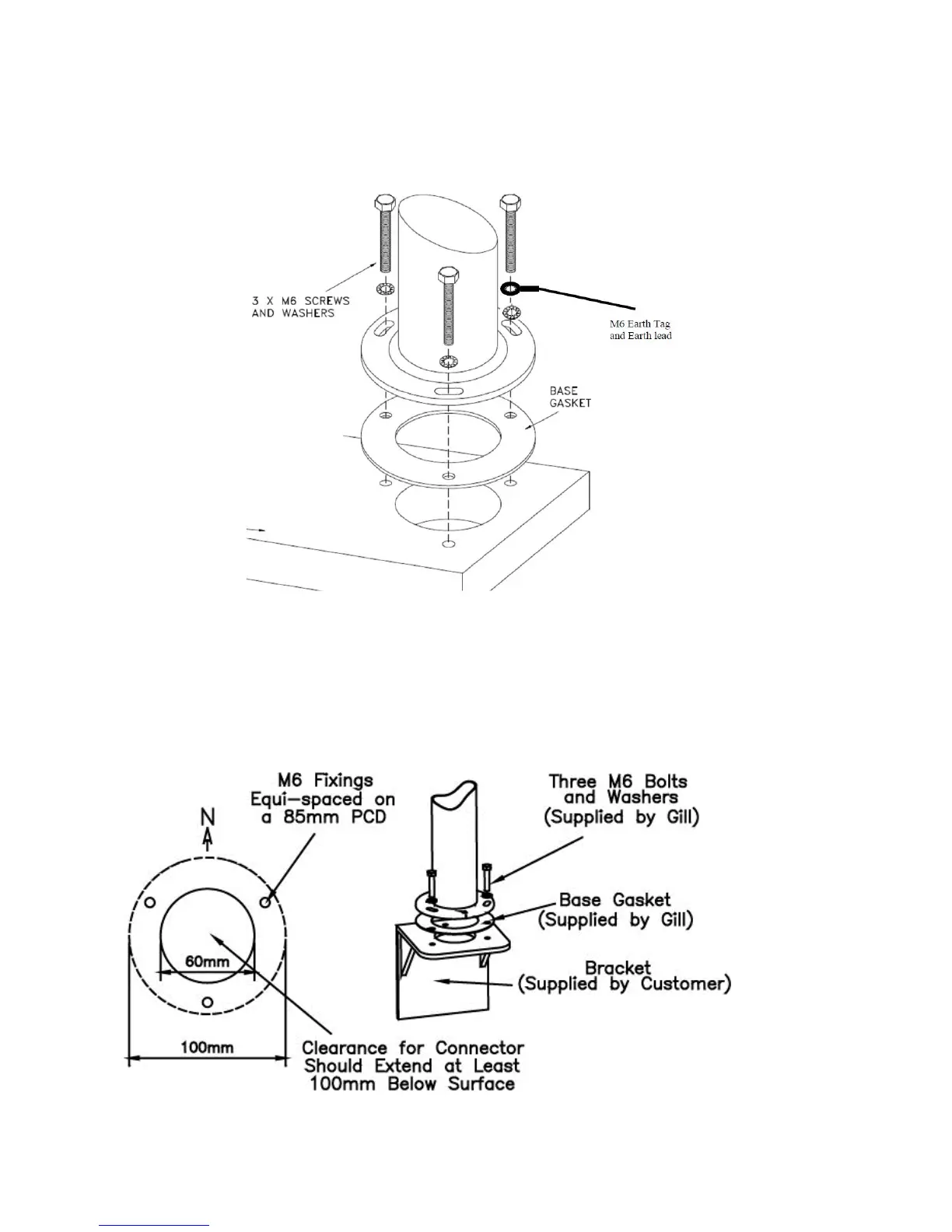
Grounding (Earthing)
For protection against lightning the WindMaster MUST be earthed via its mountings.
The unit MUST be connected to an appropriate grounding point with a minimum of 6mm² copper wire.
Mounting WindMaster (1590-PK-020/W +options and WindMaster Pro (1561-PK-020/W + options).
Cable strain relief
Fit strain relief when installing such that the weight of the cable is supported and does not put a strain on the connector.
Flange mounting
Mount the unit to a suitable surface, using the flange gasket and the M6 nuts, bolts and washers provided, ensuring that
the clearance for the connector is maintained as shown on Figure 4.
Figure 4 Flange Mounting
Connect Earth Lead to
a nearest Earth Point

Table of Contents

Related product manuals