EasyManua.ls Logo

Honeywell Notifier AFP-100 - Page 66

Honeywell Notifier AFP-100
80 pages
Print Icon
To Next Page IconTo Next Page
To Next Page IconTo Next Page
To Previous Page IconTo Previous Page
To Previous Page IconTo Previous Page
Loading...
66 Notifier SLC Wiring Manual — P/N 51253:U5 12/20/2017
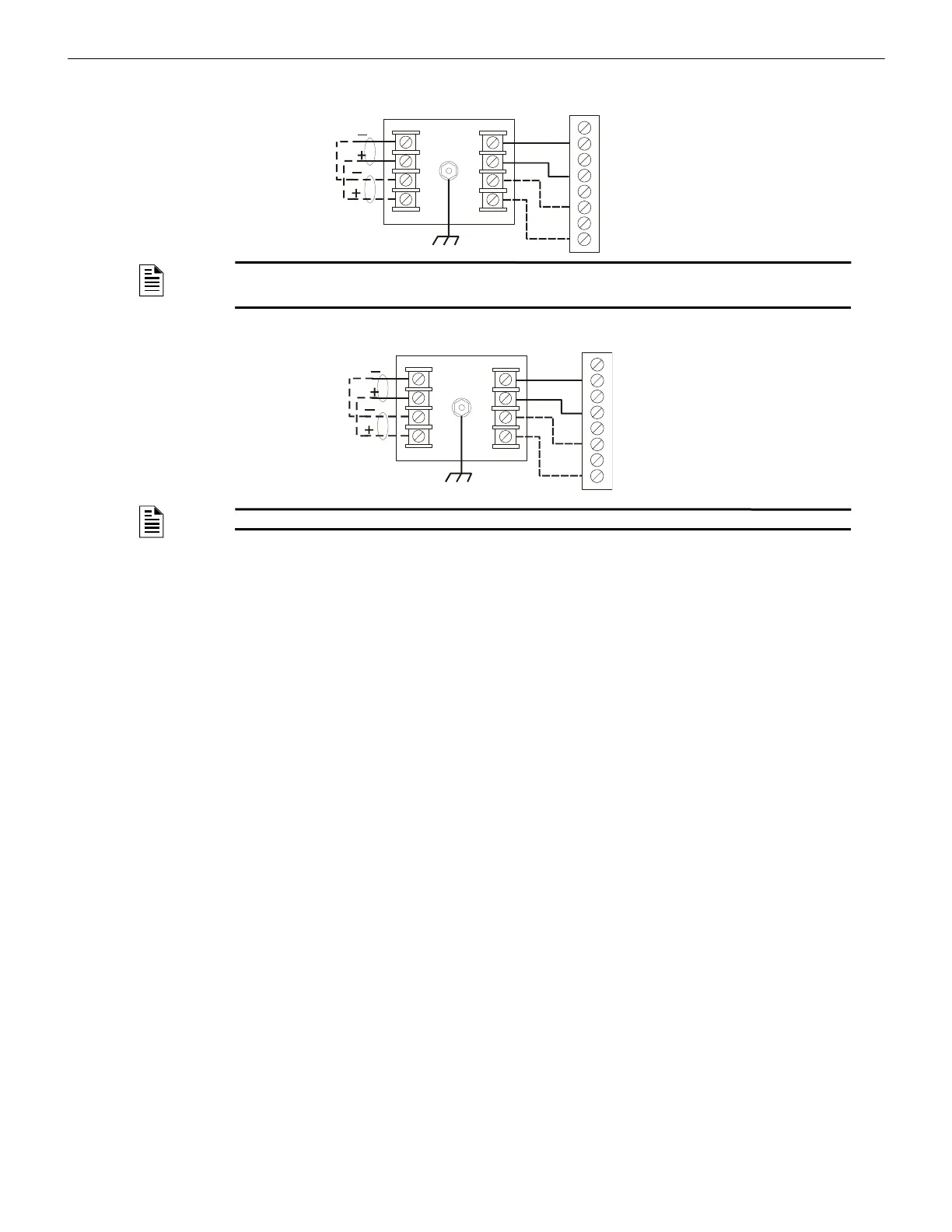
SLC Surge Suppression Installation
PLP-42N Connections
SLCP-30 Connections
NOTE: Use 12 AWG (3.31 mm
2
) to 18 AWG (0.82 mm
2
) wire with crimp-on connectors to connect the unit’s
ground terminal to equipment ground. Wire length must be minimized to provide best protection. Do not connect
shield (if present) to surge protector or fire panel.
NOTE: Do not connect shield (if present) to surge protector or fire panel.
INPUT
OUTPUT
L1 L2 L3 L
4
L1 L2 L3 L4
G
R
N
D
S
L
C
-
p
l
p
n
3
.
w
m
f
SLC Terminal Block
SLC Loop
Optional Four-wire
Return Loop
Style 6 (Class A)
PLP-42N
Earth
B-
No conn
B+
No conn
A-
No conn
A+
INPUT
OUTPUT
L1 L2 L3 L4
L1 L2 L3 L4
GRND
SLC Terminal Block
SLC Loop
S
L
C
-
s
l
c
p
3
.
w
m
f
Optional Four-wire
Return Loop
Style 6 (Class A)
SLCP-30
IN OUT
Earth
B-
No conn
B+
No conn
A-
No conn
A+

Table of Contents

Related product manuals