EasyManua.ls Logo

HP F2226A - 48GII Graphic Calculator

HP F2226A - 48GII Graphic Calculator
864 pages
To Next Page IconTo Next Page
To Next Page IconTo Next Page
To Previous Page IconTo Previous Page
To Previous Page IconTo Previous Page
Loading...
Page 5-1
Chapter 5
Algebraic and arithmetic operations
An algebraic object, or simply, algebraic, is any number, variable name or
algebraic expression that can be operated upon, manipulated, and combined
according to the rules of algebra. Examples of algebraic objects are the
following:
A number: 12.3, 15.2_m, ‘π’, ‘e’, ‘i’
A variable name: ‘a’, ‘ux’, ‘width’, etc.
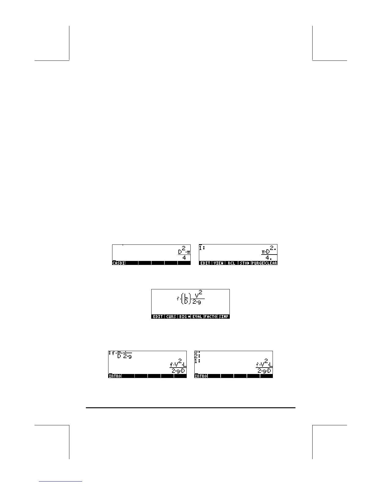
An expression: ‘p*D^2/4’,’f*(L/D)*(V^2/(2*g))’
An equation: ‘Q=(Cu/n)*A(y)*R(y)^(2/3)*So^0.5’
Entering algebraic objects
Algebraic objects can be created by typing the object between single quotes
directly into stack level 1 or by using the equation writer ‚O. For
example, to enter the algebraic object ‘π*D^2/4’ directly into stack level 1
use:³„ì*~dQ2/4`. The resulting screen is
shown next for both the ALG mode (left-hand side) and the RPN mode (right-
hand side):
An algebraic object can also be built in the Equation Writer and then sent to
the stack. The operation of the Equation Writer was described in Chapter 2.
As an exercise, build the following algebraic object in the Equation Writer:
After building the object, press to show it in the stack (ALG and RPN modes
shown below):

Table of Contents

Related product manuals