EasyManua.ls Logo

HP F2226A - 48GII Graphic Calculator - Function SOLVE

HP F2226A - 48GII Graphic Calculator
864 pages
To Next Page IconTo Next Page
To Next Page IconTo Next Page
To Previous Page IconTo Previous Page
To Previous Page IconTo Previous Page
Loading...
Page 6-2
Using the RPN mode, the solution is accomplished by entering the equation in
the stack, followed by the variable, before entering function ISOL. Right
before the execution of ISOL, the RPN stack should look as in the figure to the
left. After applying ISOL, the result is shown in the figure to the right:
The first argument in ISOL can be an expression, as shown above, or an
equation. For example, in ALG mode, try:
Note: To type the equal sign (=) in an equation, use ‚Å (associated
with the \ key).
The same problem can be solved in RPN mode as illustrated below (figures
show the RPN stack before and after the application of function ISOL):
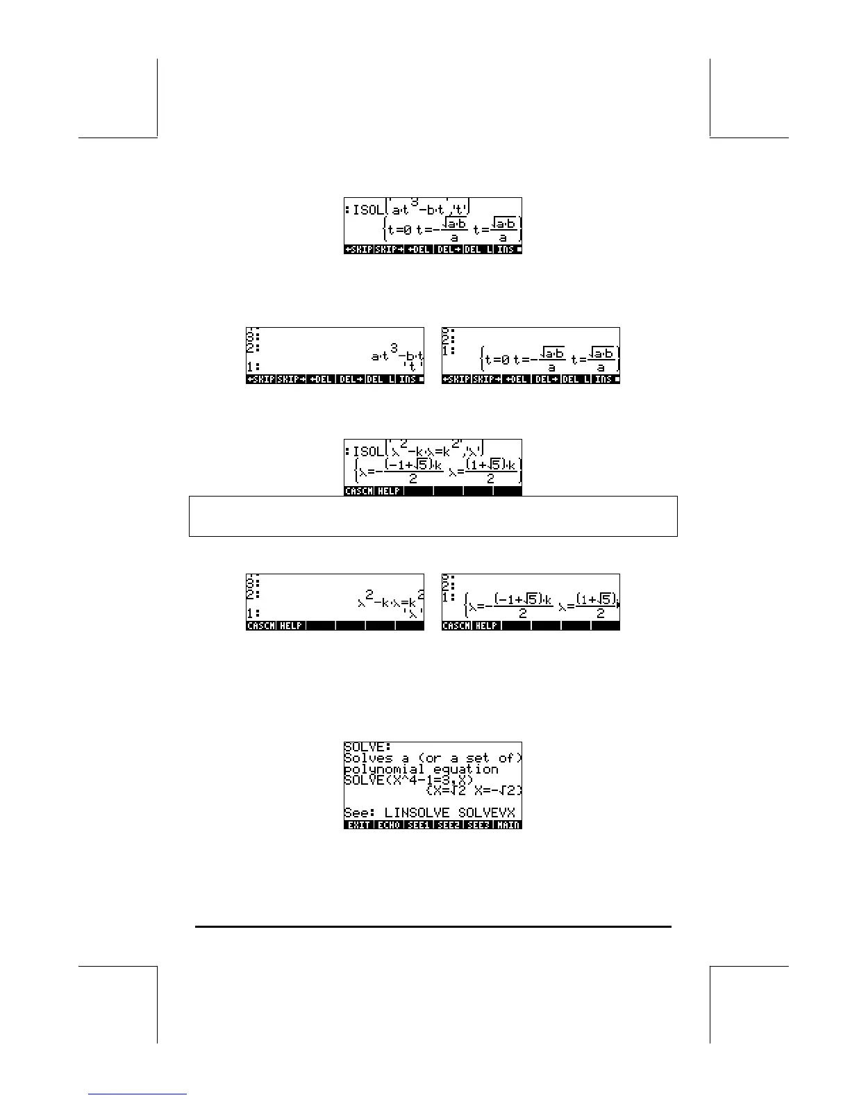
Function SOLVE
Function SOLVE has the same syntax as function ISOL, except that SOLVE can
also be used to solve a set of polynomial equations. The help-facility entry for
function SOLVE, with the solution to equation X^4 – 1 = 3 , is shown next:

Table of Contents

Related product manuals