EasyManua.ls Logo

HP F2226A - 48GII Graphic Calculator - Function COL

HP F2226A - 48GII Graphic Calculator
864 pages
To Next Page IconTo Next Page
To Next Page IconTo Next Page
To Previous Page IconTo Previous Page
To Previous Page IconTo Previous Page
Loading...
Page 10-20
as columns in the resulting matrix. The following figure shows the RPN stack
before and after using function COL.
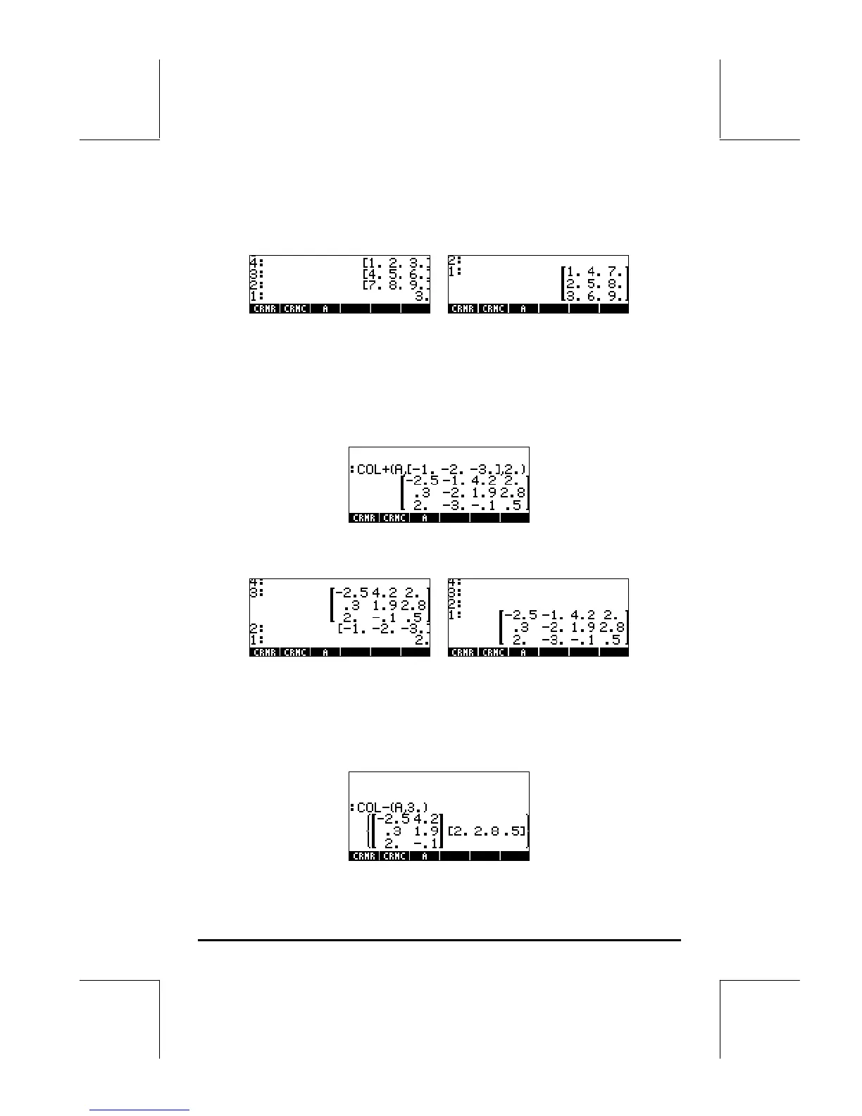
Function COL+
Function COL+ takes as argument a matrix, a vector with the same length as
the number of rows in the matrix, and an integer number n representing the
location of a column. Function COL+ inserts the vector in column n of the
matrix. For example, in ALG mode, we’ll insert the second column in matrix A
with the vector [-1,-2,-3], i.e.,
In RPN mode, enter the matrix first, then the vector, and the column number,
before applying function COL+. The figure below shows the RPN stack before
and after applying function COL+.
Function COL-
Function COL- takes as argument a matrix and an integer number representing
the position of a column in the matrix. Function returns the original matrix
minus a column, as well as the extracted column shown as a vector. Here is
an example in the ALG mode using the matrix stored in A:

Table of Contents

Related product manuals