EasyManua.ls Logo

HP F2226A - 48GII Graphic Calculator

HP F2226A - 48GII Graphic Calculator
864 pages
To Next Page IconTo Next Page
To Next Page IconTo Next Page
To Previous Page IconTo Previous Page
To Previous Page IconTo Previous Page
Loading...
Page 10-24
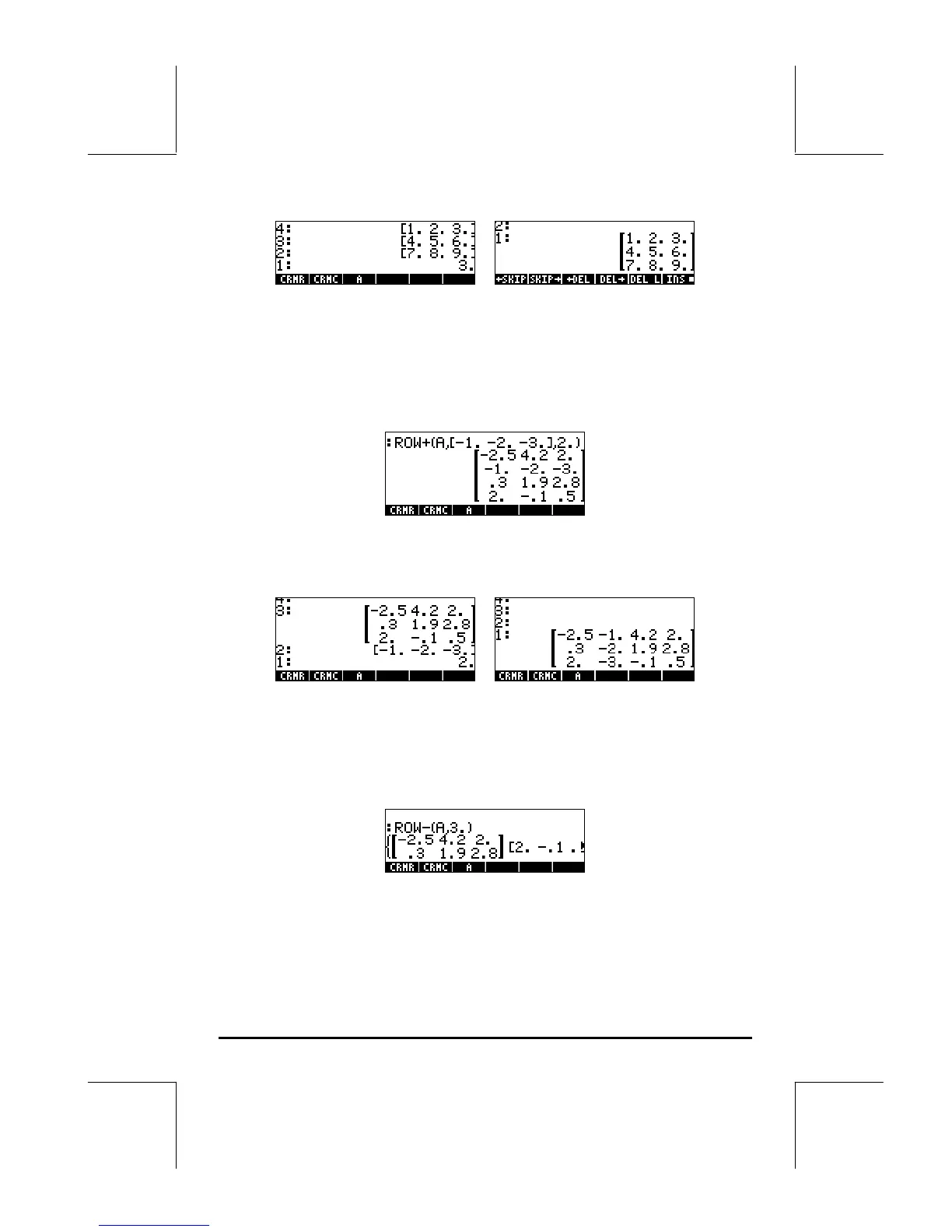
Function ROW+
Function ROW+ takes as argument a matrix, a vector with the same length as
the number of rows in the matrix, and an integer number n representing the
location of a row. Function ROW+ inserts the vector in row n of the matrix.
For example, in ALG mode, we’ll insert the second row in matrix A with the
vector [-1,-2,-3], i.e.,
In RPN mode, enter the matrix first, then the vector, and the row number,
before applying function ROW+. The figure below shows the RPN stack
before and after applying function ROW+.
Function ROW-
Function ROW- takes as argument a matrix and an integer number
representing the position of a row in the matrix. The function returns the
original matrix, minus a row, as well as the extracted row shown as a vector.
Here is an example in the ALG mode using the matrix stored in A:
In RPN mode, place the matrix in the stack first, then enter the number
representing a row location before applying function ROW-. The following
figure shows the RPN stack before and after applying function ROW-.

Table of Contents

Related product manuals