EasyManua.ls Logo

Keysight Technologies N5221A - Page 278

Keysight Technologies N5221A
368 pages
To Next Page IconTo Next Page
To Next Page IconTo Next Page
To Previous Page IconTo Previous Page
To Previous Page IconTo Previous Page
Loading...
7-14 Keysight N5221A/22A Service Guide
Repair and Replacement Procedures
Removing and Replacing the A1–A3 and Other Front Panel Subassemblies
7-
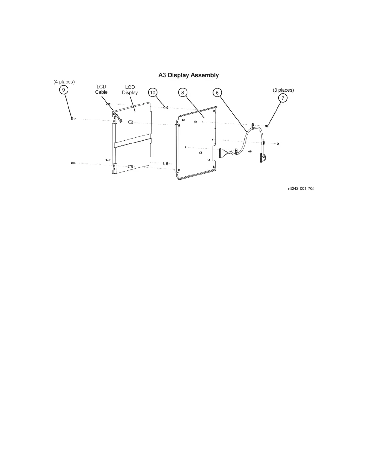
Figure 7-5 A3 Display Assembly and Touch Screen Removal-2
Replacement Procedure
1. Reverse the order of the removal procedure.
2. Perform the post-repair adjustments, verifications, and performance tests
that pertain to this removal procedure. Refer to Table 7-2 on page 7-60.

Table of Contents

Related product manuals