EasyManua.ls Logo

Lagler Flip - 10 Circuit Diagram

Lagler Flip
64 pages
Print Icon
To Next Page IconTo Next Page
To Next Page IconTo Next Page
To Previous Page IconTo Previous Page
To Previous Page IconTo Previous Page
Loading...
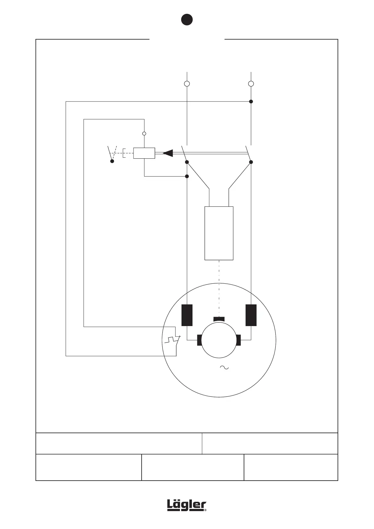
FLIP
®
01.01.2019
English / Englisch
temperature
switch
M1
motor 1.35 kW
230V/50+60CPS
110-120V/50+60CPS
Z1
interference-free
capacitor
Q1
switch
1.35 kW / 230V/50+60CPS
1.35 kW / 110 - 120V/50+60CPS
FLIP : universal motor
®
Phone: 0049 - 7135 - 98 90 - 0
Fax: 0049 - 7135 - 98 90 - 98
e-mail: info@laegler.com
Internet: http://www.laegler.com
U<
10
01.01.2010
M1
A1
13
14
23
24
L1
N
EUGEN LÄGLER GMBH
Kappelrain 2
D-74363 Güglingen-Frauenzimmern
CIRCUIT DIAGRAM
10
51

Table of Contents

Other manuals for Lagler Flip

Related product manuals