EasyManua.ls Logo

Linde E30 - Page 59

Linde E30
168 pages
Print Icon
To Next Page IconTo Next Page
To Next Page IconTo Next Page
To Previous Page IconTo Previous Page
To Previous Page IconTo Previous Page
Loading...
Service Training
Section 2.6
Page 5
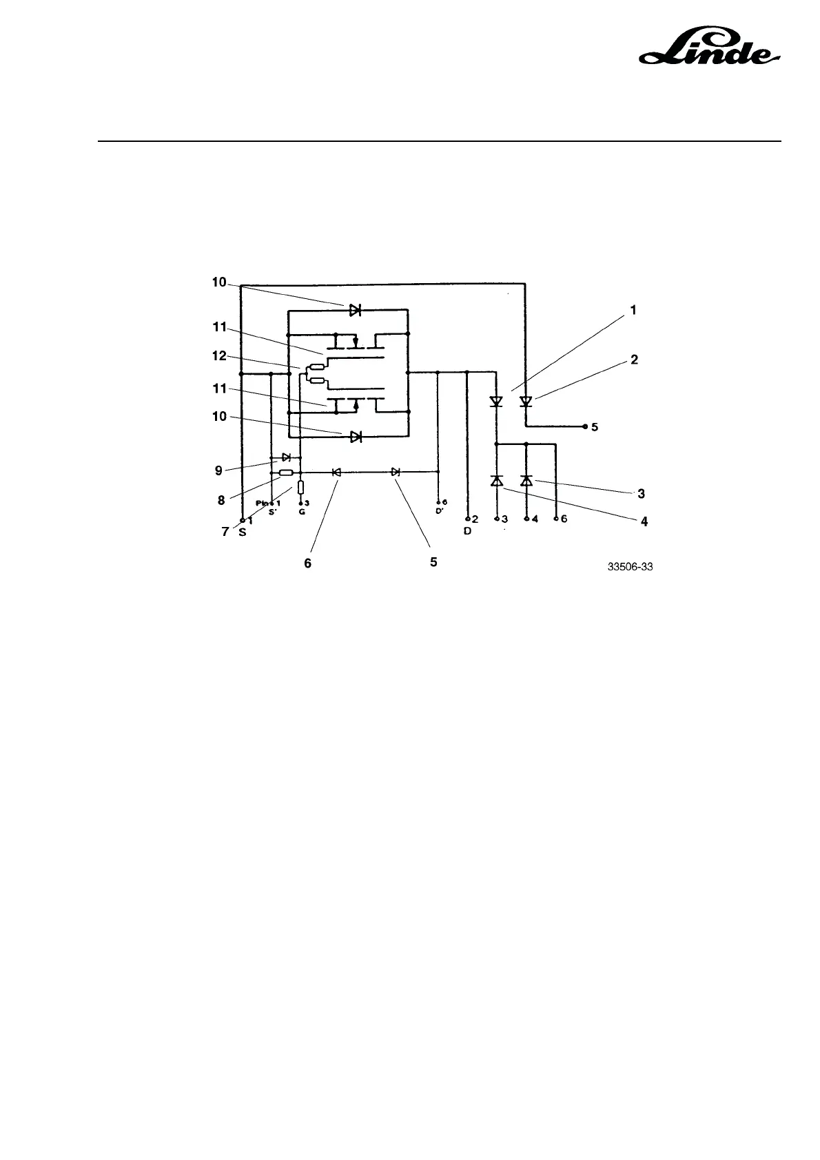
1 Freewheel diode
2 Braking diode (not used)
3 Zener diode
4 Diode
5 Ballast Zener diode
6 Leakage resistor
7 Zener diode
8 Protective diode
9 MOSFET transistor
10 Gate ballast resistor
Specifications:
Voltage: 80 V
Max. current: 350 A at 70 °C

Table of Contents

Related product manuals