EasyManua.ls Logo

Mitsubishi MELFA RV-6S Series - Outside Dimensions and Operating Range

Mitsubishi MELFA RV-6S Series
129 pages
Print Icon
To Next Page IconTo Next Page
To Next Page IconTo Next Page
To Previous Page IconTo Previous Page
To Previous Page IconTo Previous Page
Loading...
Robot arm
Outside dimensions Operating range diagram
2-13
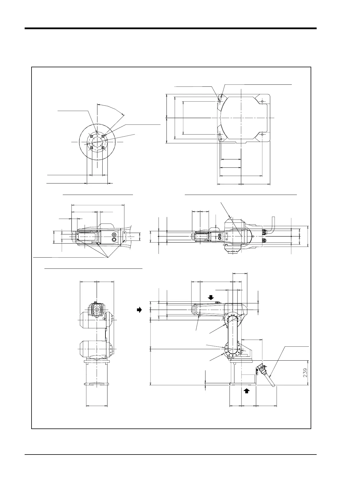
2.4 Outside dimensions Operating range diagram
(1) RV-6S/6SC
Fig.2-3 Outside dimensions : RV-6S/6SC
115
96
122
204
160
102.5
205
115 140
4-φ9 installation hole
2-φ6 holes
(prepared holes for φ8 positioning pins)
View D bottom view drawing : Detail of installation dimension
6.3a (Installation)
6.3a (Installation)
φ
3
1
.
5
4
5
°
φ20H7
+0.021
0
depth 7.5
φ40h8
-0.039
0
depth 6.5
φ5H7
+0.012
0
depth 5
View A: Detail of mechanical interface
4-M5 screw, depth 9
110
R
2
1
1
51.558.5
φ70
78
84
85
5461
78 73
200
80
37
32
340
20165
50
(for customer use)
View C: Detail of screw holes for fixing wiring hookup
Screw holes for fixing wiring hookup (M4)
162 165
204
A
B
200
115
140
φ
1
5
8
φ
1
5
8
R
9
8
80.5100
280
350
120
90
φ
5
3
20
85
85
315
140
90
63
200
* Dimensions when installing a solenoid valve (optional)
*
C
(Maintenance space)
Machine cable

Table of Contents

Related product manuals