EasyManua.ls Logo

Monaco LaPalma - Page 64

Default Icon
366 pages
Print Icon
To Next Page IconTo Next Page
To Next Page IconTo Next Page
To Previous Page IconTo Previous Page
To Previous Page IconTo Previous Page
Loading...
2 • 64
2004 • LaPalma
Driving & Safety
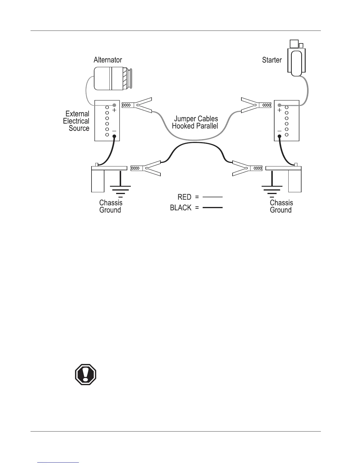
Jump Starting:
When using an external electrical source to connect to the chassis
battery, turn the main battery disconnect switches OFF prior to
hooking up the jumper cables.
• Hook up the cables then wait several minutes to allow a surface
charge to build in the chassis battery before attempting to start
the engine.
• Turn ON the battery disconnect switches and attempt to start the
engine. DO NOT crank the engine more than a few seconds.
After the engine has started disconnect the cables. Disconnect
the negative (-) cables before disconnecting the positive (+)
cables to prevent arcing.
If the engine does not crank, or cranks slowly, DO NOT
CONTINUE. Obtain assistance from a qualified technician.
Extensive damage, fire or injury can occur.
WARNING: The gases around the battery can explode if exposed
to flames, sparks or lit cigarettes. An explosion can result in injury
or vehicle damage. Batteries contain sulfuric acid, which burns
skin, eyes and clothing. Do not connect the end of the second cable to
the negative (-) terminal of the battery to be jumped. A spark may
cause an explosion of the gases that surround the battery. Connect
only to the chassis, away from the battery.
080350

Table of Contents

Related product manuals