EasyManua.ls Logo

NEC switch - Configuration of 8-Bit Timer;Event Counters 00 and 01; Block Diagram of 8-Bit Timer 00; Square Wave Output Range of 8-Bit Timer;Event Counter 01

NEC switch
234 pages
Print Icon
To Next Page IconTo Next Page
To Next Page IconTo Next Page
To Previous Page IconTo Previous Page
To Previous Page IconTo Previous Page
Loading...
CHAPTER 6 8-BIT TIMER/EVENT COUNTERS 00 AND 01
User’s Manual U12978EJ3V0UD
80
(3) Square wave output
A square wave of arbitrary frequency can be output.
Table 6-3. Square Wave Output Range of 8-Bit Timer/Event Counter 01
Minimum Pulse Width Maximum Pulse Width Resolution
2
4
/f
X
(2.67
µ
s) 2
12
/f
X
(682.7
µ
s) 2
4
/f
X
(2.67
µ
s)
2
8
/f
X
(42.7
µ
s) 2
16
/f
X
(10.9 ms) 2
8
/f
X
(42.7
µ
s)
Remarks 1. fX
: System clock oscillation frequency
2. The parenthesized values apply to operation at f
X
= 6.0 MHz
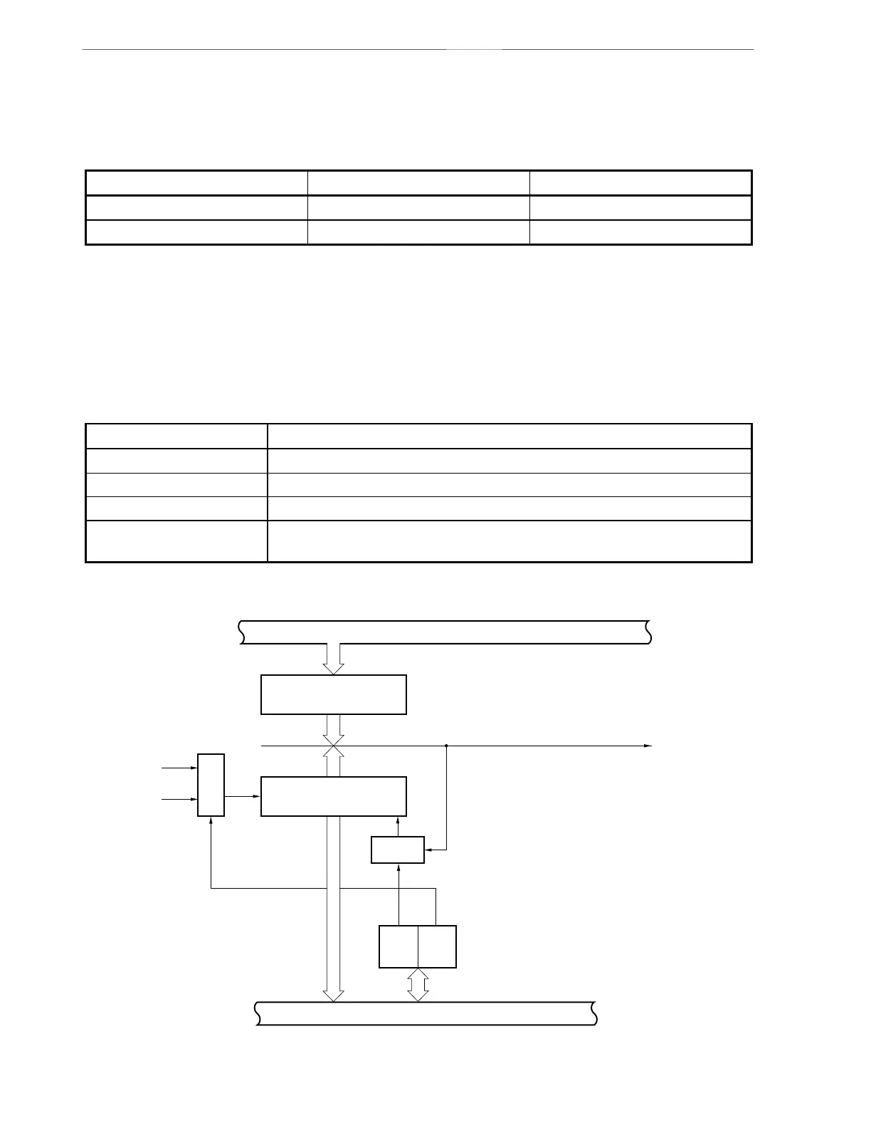
6.2 Configuration of 8-Bit Timer/Event Counters 00 and 01
8-bit timer/event counters 00 and 01 consist of the following hardware.
Table 6-4. Configuration of 8-Bit Timer/Event Counters 00 and 01
Item Configuration
Timer counter 8 bits × 2 (TM00 and TM01)
Register Compare register: 8 bits × 2 (CR00 and CR01)
Timer outputs 1 (TO01)
Control registers 8-bit timer mode control registers 00 and 01 (TMC00 and TMC01)
Port mode register 2 (PM2)
Figure 6-1. Block Diagram of 8-Bit Timer 00
Internal bus
8-bit compare register 00
(CR00)
Match
INTTM00
f
X
/2
6
f
X
/2
9
Selector
Clear
8-bit timer counter 00
(TM00)
Internal bus
TCE00
TCL000
8-bit timer mode control register 00 (TMC00)
Selector

Table of Contents