EasyManua.ls Logo

Olec OLITE - AL 85 Capacitor Assembly; AL 56 Capacitor Assembly

Olec OLITE
118 pages
Print Icon
To Next Page IconTo Next Page
To Next Page IconTo Next Page
To Previous Page IconTo Previous Page
To Previous Page IconTo Previous Page
Loading...
5-6 94MS20 Rev. B4
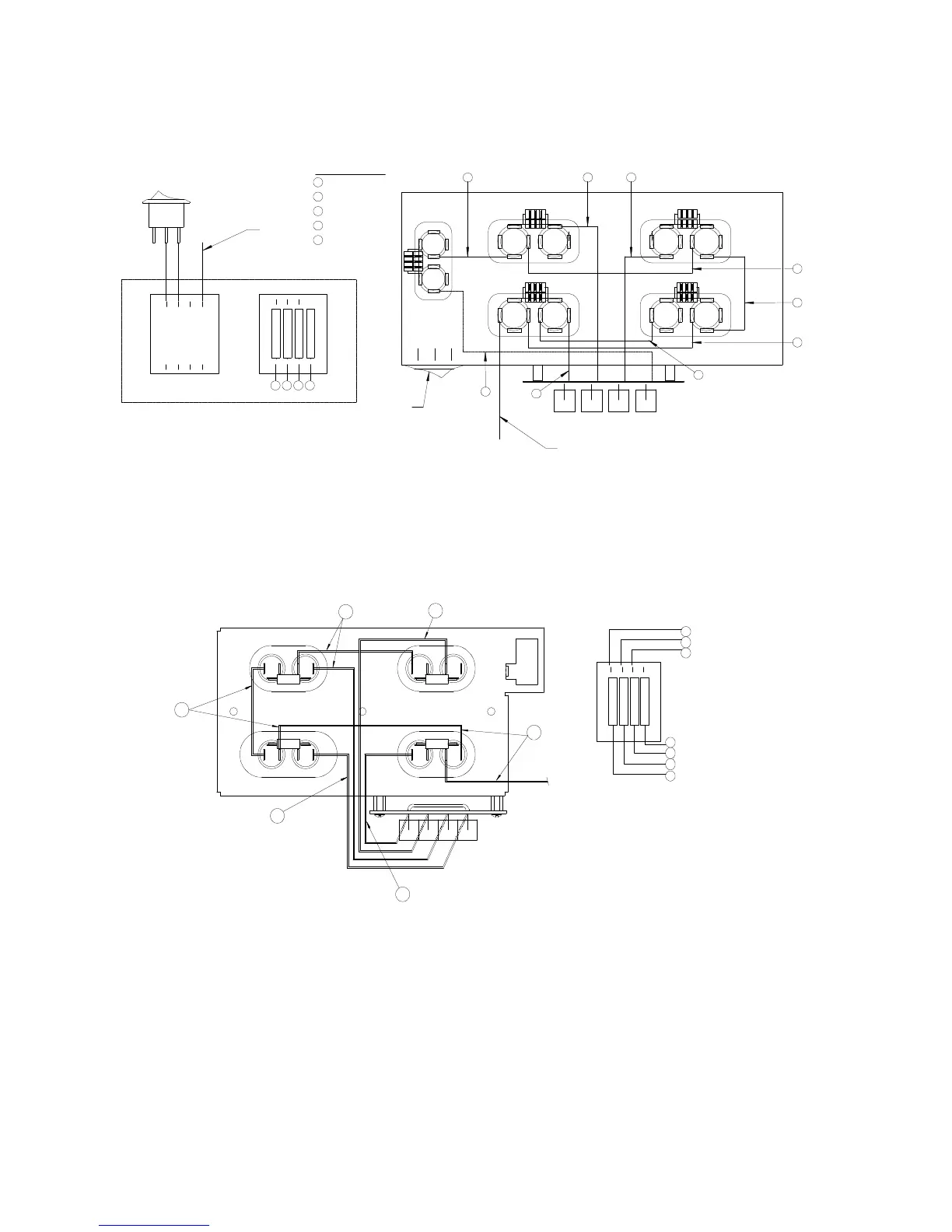
AL 85 Capacitor Assembly
POS. 1
16µF
10 µF
16µF
12 µF
8 µF
3
SWITCH
POS. 2
21
BLACK
BLUE
SWITCH
BLUE
BLACK
YELLOW
WIRING INSTR., CAPACITOR, 8K, 60HZ - AL85
321
WIRE COLOR
1
64MV422V00
WIRES TO CAPACITORS
FRONT VIEWBOTTOM VIEW
BLUE / WHITE
2 BLUE
3 BROWN
4 YELLOW
5 ORANGE
64MV422V00
4
1
3 2 1
4
4
C1 C2
C4
5
5
5
C3
23
C5
5
REMOVE
14 AWG ORANGE WIRE
(FROM BALLASTS)
AL 56 Capacitor Assembly
5
4
2
1
1 2 3
WIRES
FROM
HARNESS
WIRES TO
CAPACITOR
TOP
FRONT
VIEW OF
PC BOARD
1
2
3
1
2
3
4
WIRE COLORS
1) YELLOW
2) BROWN
3) BLUE
4) BLUE WITH WHITE STRIPE
5) ORANGE
16µƒ
16µƒ
16µƒ
10µƒ
5
3
CAPACITOR ASSEMBLY #62D2726A00

Table of Contents