EasyManua.ls Logo

Optimus Compact - 5. CONNECTION OF PERIPHERALS TO THE CAN BUS; Connecting Peripherals to the CAN Bus

Optimus Compact
74 pages
Print Icon
To Next Page IconTo Next Page
To Next Page IconTo Next Page
To Previous Page IconTo Previous Page
To Previous Page IconTo Previous Page
Loading...
COMPACT version 5.0.002
9
Modular audio matrix
with IP connection
COMPACT
R +D Department
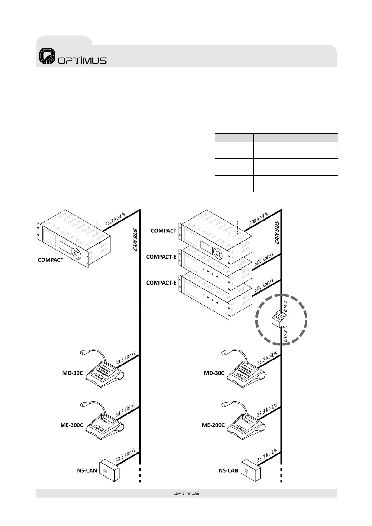
5. CONNECTION OF PERIPHERALS TO THE CAN BUS
The COMPACT device communicates with the COMPACT-E units via a CAN bus. The data flow between the COMPACT equipment
and the COMPACT-E expansion units uses a baud rate of 500 kbit/s.
With the rest of CAN peripherals of the installation (MD-30C, ME-200C, NS-CAN ...) and with an internal speed adapter that the
COMPACT device has built-in, the transmission speed is 33.3 kbit/s. This lower speed makes it possible to reach greater distances in
the connection between the peripherals and the central one. The adapter
also allows galvanically isolating the central from the equipment of the
installation, protecting it from possible wiring problems in the installation.
To communicate with these peripherals, the transmission speed of the
COMPACT unit must be set to 33.3 kbit/s, as explained in section 5.1.
If a COMPACT-E unit matches other CAN peripherals (MD-30C, ME-200C,
NS-CAN…) on the same CAN bus, it is necessary to place an external CAN
speed adapter to match the transmission speed between devices (speed
adapter model CAN-AV).
The attached table shows the transmission speed of the equipment:
Internal
adapter
Internal
adapter
Figure 15
Model
SPEED TRANSMISSION
COMPACT
33.3 kbit/s or 500 kbit/s (built-in
speed adapter)
COMPACT-E
500 kbit/s
MD-30C
33.3 kbit/s
ME-200C
33.3 kbit/s
NS-CAN
33.3 kbit/s
External bus CAN
speed adapter
(500 kbit/s -
33.3 kbit/s)
model
CAN-AV
(A465AV)

Table of Contents

Other manuals for Optimus Compact

Related product manuals