EasyManua.ls Logo

Optimus Compact - Conexión de Periféricos al Bus Can

Optimus Compact
74 pages
Print Icon
To Next Page IconTo Next Page
To Next Page IconTo Next Page
To Previous Page IconTo Previous Page
To Previous Page IconTo Previous Page
Loading...
COMPACT versión 5.0.002
9
Matriz de audio modular
con conexión IP
COMPACT
R + D Department
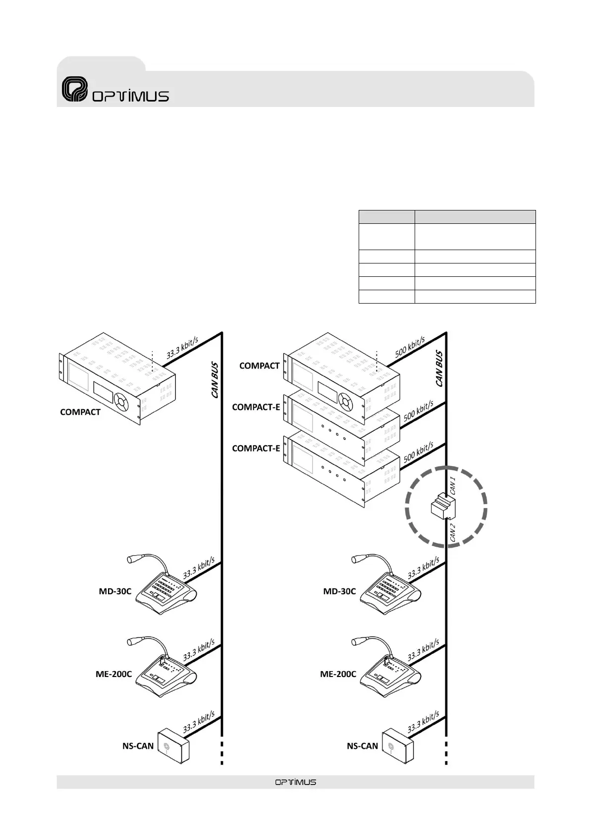
5. CONEXIÓN DE PERIFÉRICOS AL BUS CAN
El equipo COMPACT se comunica con las unidades COMPACT-E a través de un bus CAN. El flujo de datos entre el equipo COMPACT
y las unidades de ampliación COMPACT-E utiliza una velocidad de transmisión de 500 kbit/s.
Con el resto de periféricos CAN de la instalación (pupitres MD-30C, ME-200C, NS-CAN…) y gracias a un adaptador de velocidad
interno que el equipo COMPACT lleva incorporado, la velocidad de transmisión es de 33,3 kbit/s. Esta velocidad más baja posibilita
alcanzar mayores distancias en la conexión entre los periféricos y la central. El
adaptador permite también aislar galvánicamente la central de los equipos de
la instalación, protegiéndola de posibles problemas de cableado en la instala-
ción. Para comunicar con estos periféricos se debe configurar la velocidad de
transmisión de la unidad COMPACT a 33,3 kbit/s, tal y como explica el apartado
5.1.
En instalaciones donde coincidan en un mismo bus CAN equipos COMPACT-E
con otros periféricos CAN (MD-30C, ME-200C, NS-CAN…) es necesario colocar
el adaptador de velocidad externo modelo CAN-AV (código A465AV) para que
concuerde la velocidad de transmisión entre equipos.
La tabla adjunta muestra la velocidad de transmisión de los equipos.
Adaptador
interno
Adaptador
interno
Figura 15
EQUIPO
VELOCIDAD de TRANSMISIÓN
COMPACT
33,3 kbit/s o 500 kbit/s (adap-
tador interno incorporado )
COMPACT-E
500 kbit/s
MD-30C
33,3 kbit/s
ME-200C
33,3 kbit/s
NS-CAN
33,3 kbit/s
Adaptador
externo de
velocidad de bus
CAN (500 kbit/s -
33,3 kbit/s)
modelo
CAN-AV
(A465AV)

Table of Contents

Other manuals for Optimus Compact

Related product manuals