EasyManua.ls Logo

Panasonic KX-TG5631S

Panasonic KX-TG5631S
124 pages
To Next Page IconTo Next Page
To Next Page IconTo Next Page
To Previous Page IconTo Previous Page
To Previous Page IconTo Previous Page
Loading...
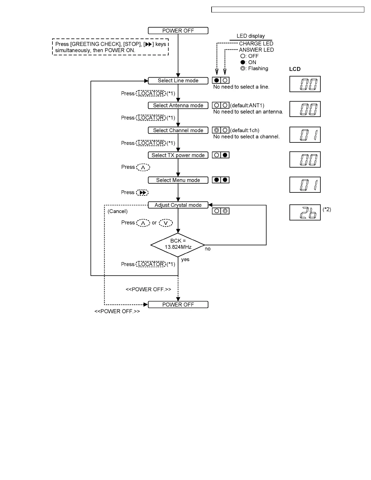
8.1.4. Adjustment Mode
Cross Reference
Check and Adjust X501 (Base Unit) Frequency (P.46)
Note:
(*1) Press CALL for KX-TG5632/KX-TG5633.
(*2) This is an adjustment value (hex.).
41
KX-TG5631S / KX-TG5632M / KX-TG5633B / KX-TGA560S / KX-TGA560M / KX-TGA560B

Table of Contents

Other manuals for Panasonic KX-TG5631S

Related product manuals