EasyManua.ls Logo

Panasonic KX-TG5631S

Panasonic KX-TG5631S
124 pages
To Next Page IconTo Next Page
To Next Page IconTo Next Page
To Previous Page IconTo Previous Page
To Previous Page IconTo Previous Page
Loading...
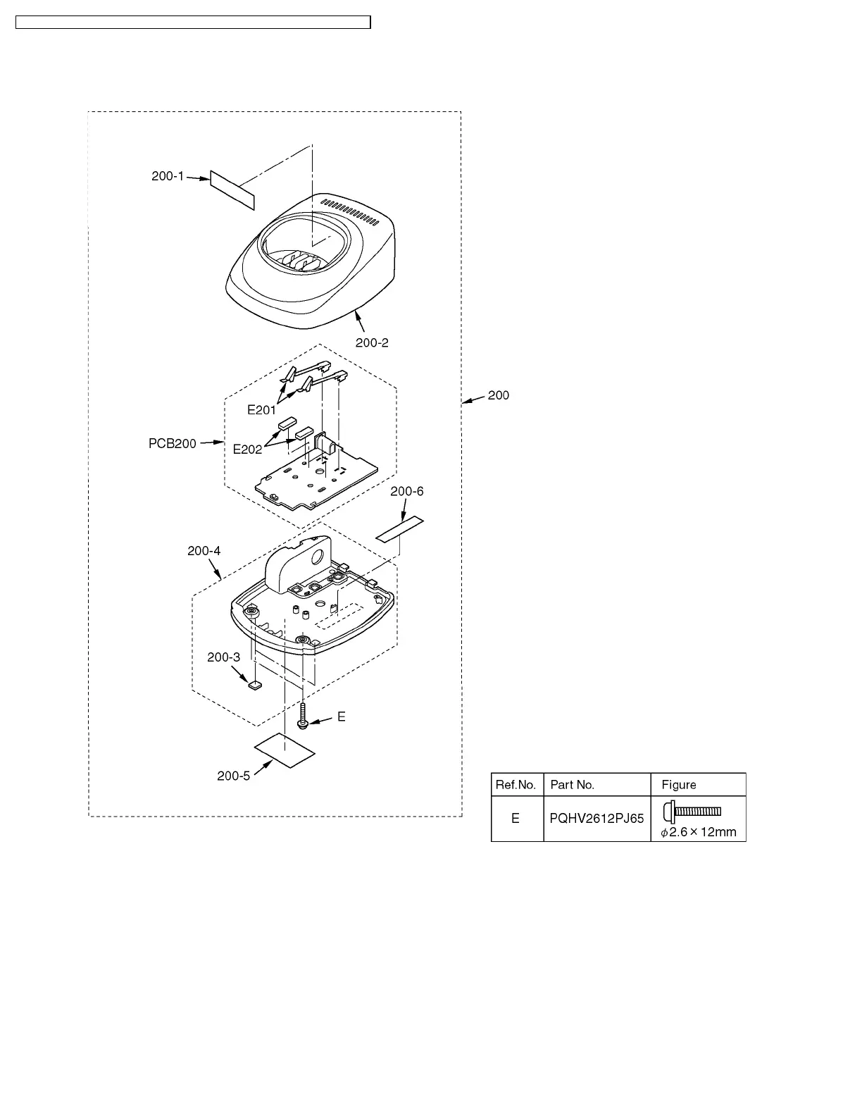
26 CABINET AND ELECTRICAL PARTS (CHARGER UNIT)
90
KX-TG5631S / KX-TG5632M / KX-TG5633B / KX-TGA560S / KX-TGA560M / KX-TGA560B

Table of Contents

Other manuals for Panasonic KX-TG5631S

Related product manuals