EasyManua.ls Logo

Panasonic KX-TG5631S

Panasonic KX-TG5631S
124 pages
To Next Page IconTo Next Page
To Next Page IconTo Next Page
To Previous Page IconTo Previous Page
To Previous Page IconTo Previous Page
Loading...
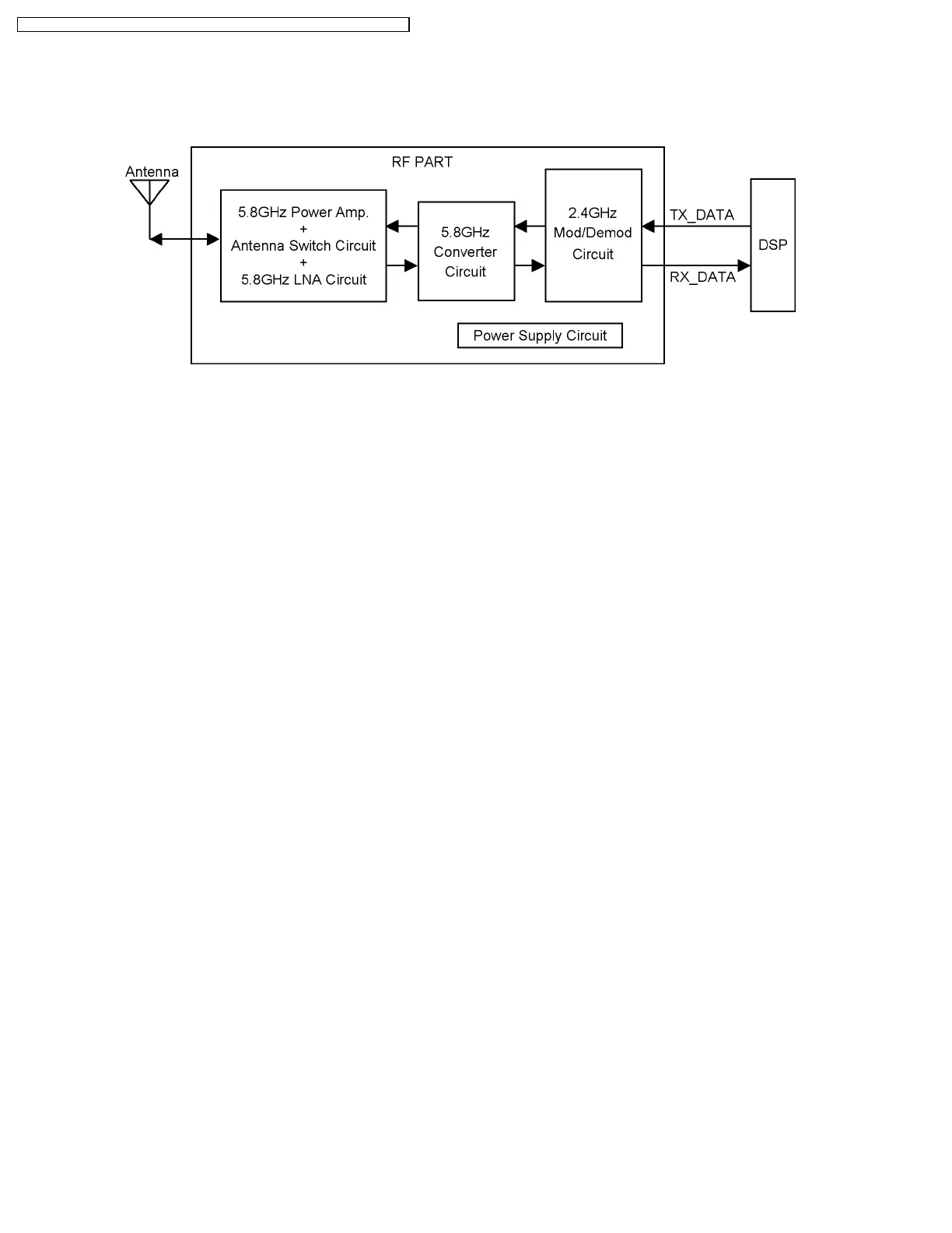
15 CIRCUIT OPERATION (RF PART)
General Description:
RF part includes Transmitter and Receiver functions. Digital signals (Mainly voice data) that come from DSP, are modulated
and are transmitted. On the other hand, received signals are demodulated and go out to DSP.
68
KX-TG5631S / KX-TG5632M / KX-TG5633B / KX-TGA560S / KX-TGA560M / KX-TGA560B

Table of Contents

Other manuals for Panasonic KX-TG5631S

Related product manuals